跳到主要內容
  • 回首頁
  • 聯絡我們
  • 研究發展處
  • 國立屏東科技大學
  • 中心簡介
    • 成員執掌
  • 專利資訊
    • 本校專利資訊管理
    • 本校專利資訊
    • 專利事務所訊息
    • 專利清冊
    • 登入
  • 表單下載
  • 專利讓與公告
  • 研習活動報名
  • 宣導專區
  • 相關法規
    • 本校相關法規
    • 政府法規
    • 智慧財產相關連結

專利分類: 發明

海木耳萃取物及其萃取方法

紅翎藻萃取物及其萃取方法

生物晶片檢測輔助模組

一種自蛇紋岩土壤分離出之錳氧化菌

微流體蒸氣蒸餾晶片

可潰式砂心之製備方法

長莖蕨藻之萃取物及其類黃酮萃取方法

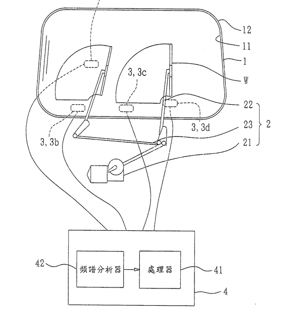
用於評估雨刷品質之系統及具雨刷品質估測功能的車

微針貼片型豬用疫苗

文章導覽

Older Posts Older Posts
Newer Posts Newer Posts
聯絡資訊
  • 地址:91201屏東縣內埔鄉學府路1號(行政大樓4樓)
  • 電話:08-7703202轉6281、6282、6283
  • 傳真:08-7740158
  • Copyright © 2023 國立屏東科技大學技轉中心 版權所有