國立屏東科技大學
可移轉專利技術摘要

專利名稱

醋液與活性炭的連續作業生成裝置(二)

專利證號

I633056

專利國別

中華民國

專利類型

公告日

2018/08/21

發明人代表

王貳瑞

專利技術摘要

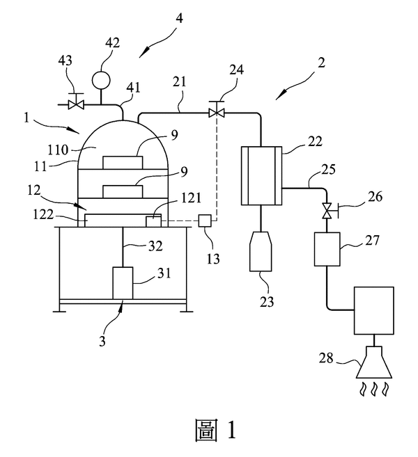
一種醋液與活性炭連續作業生成裝置,包含一裂解單元,與該裂解單元連接的一收集單元及一活化單元。該裂解單元包括一界定出一加熱空間的爐體、一設置於該加熱空間的加熱器,及一資訊連接於該加熱器的控制器。該收集單元包括一收集管路、一設置於該收集管路中的熱交換器,及一連通於該收集管路末端的收集瓶。該活化單元包含一儲存活化氣體的儲存瓶,及一連通該加熱空間的充氣管路。溫度在特定溫度範圍時,該加熱空間中的氣體經該收集管路,在該熱交換器冷凝成醋液。溫度到達臨界溫度時,活化氣體與產生的焦油反應,增加活性炭的孔隙度及比表面積。

可應用範圍
(產業利用性)

【技術領域】 本發明是有關於一種產物生成裝置,特別是指一種醋液與活性炭連續作業生成裝置。

照片/圖示

附件