國立屏東科技大學
可移轉專利技術摘要

專利名稱

逆向差速齒輪式混合動力裝置之控制方法

專利證號

I337141

專利國別

中華民國

專利類型

公告日

2011/02/11

發明人代表

林秋豐、莊翊、曾全佑

專利技術摘要

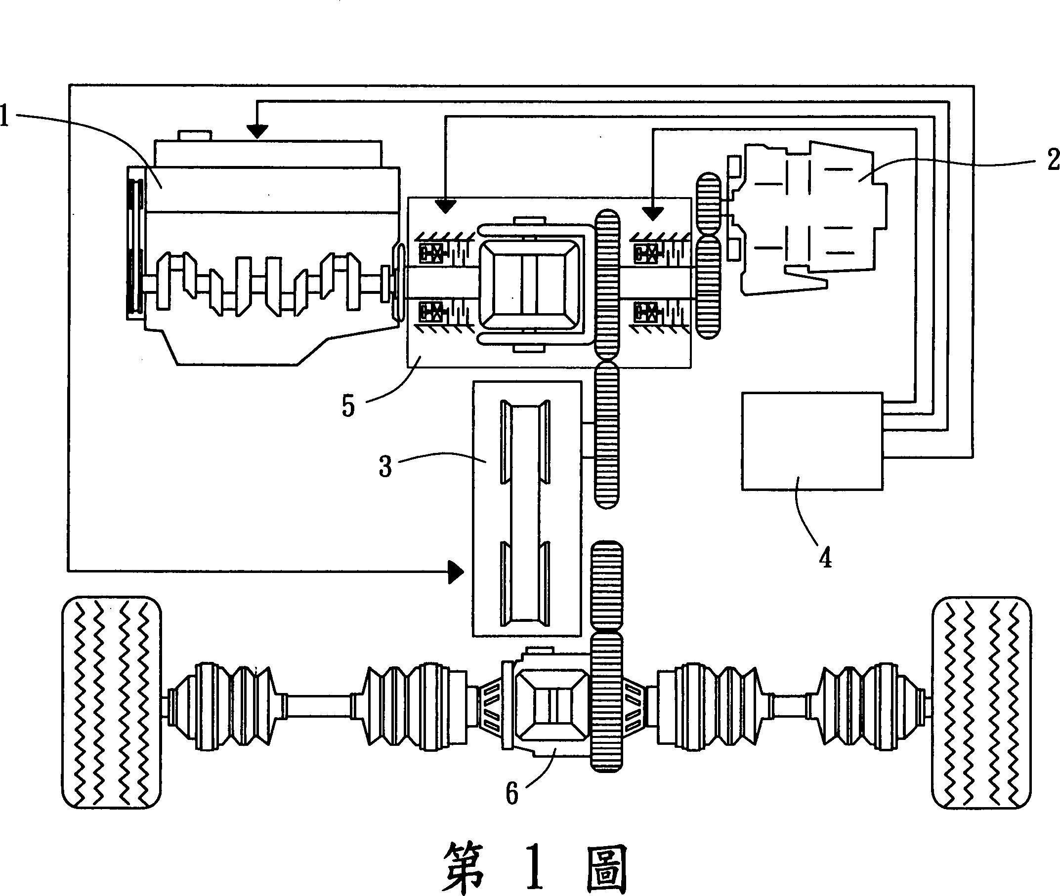
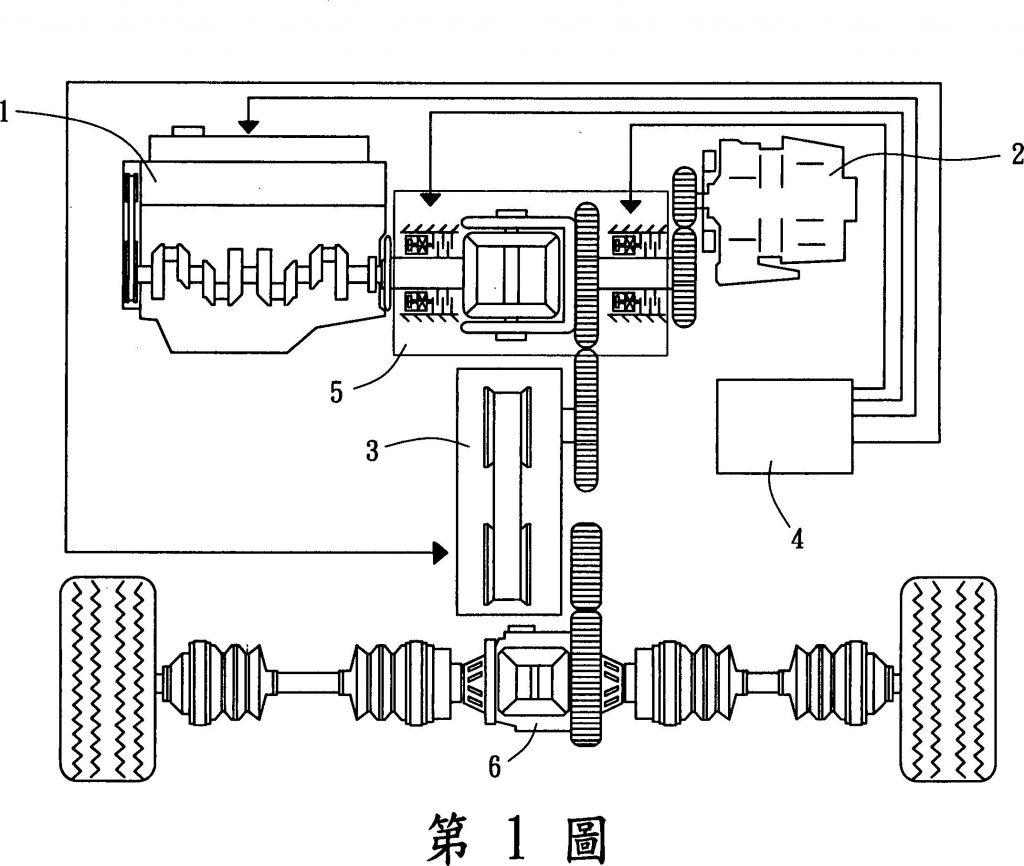
一種逆向差速齒輪式混合動力裝置之控制方法,其利用一電子控制單元依據一內燃機引擎預先設定之目標操作點控制該內燃機引擎之節氣閥及一馬達/發電機之輸出轉矩,使內燃機引擎能夠固定作動於低油耗之目標操作點,進而使逆向差速齒輪產生一固定轉矩輸出值,並將該固定轉矩輸出值與一透過駕駛者所控制之油門踏板轉動角度值所計算得到的驅動輪目標輸出扭力進行計算而產生一齒輪比信號,並將該齒輪比信號傳送至一電子式無段自動變速器,以進行無段變速。藉此,該內燃機引擎能夠作動於該目標操作點,同時車輛的運動能夠追隨該駕駛者透過油門踏板所驅動的轉動角度後所下達的目標動態。

可應用範圍
(產業利用性)

照片/圖示

附件