國立屏東科技大學
可移轉專利技術摘要

專利名稱

飛灰水洗合併顆粒分離裝置

專利證號

I361717

專利國別

中華民國

專利類型

公告日

2012/04/11

發明人代表

黃武章、唐幸娟、吳美慧、張凱富、薛紫均

專利技術摘要

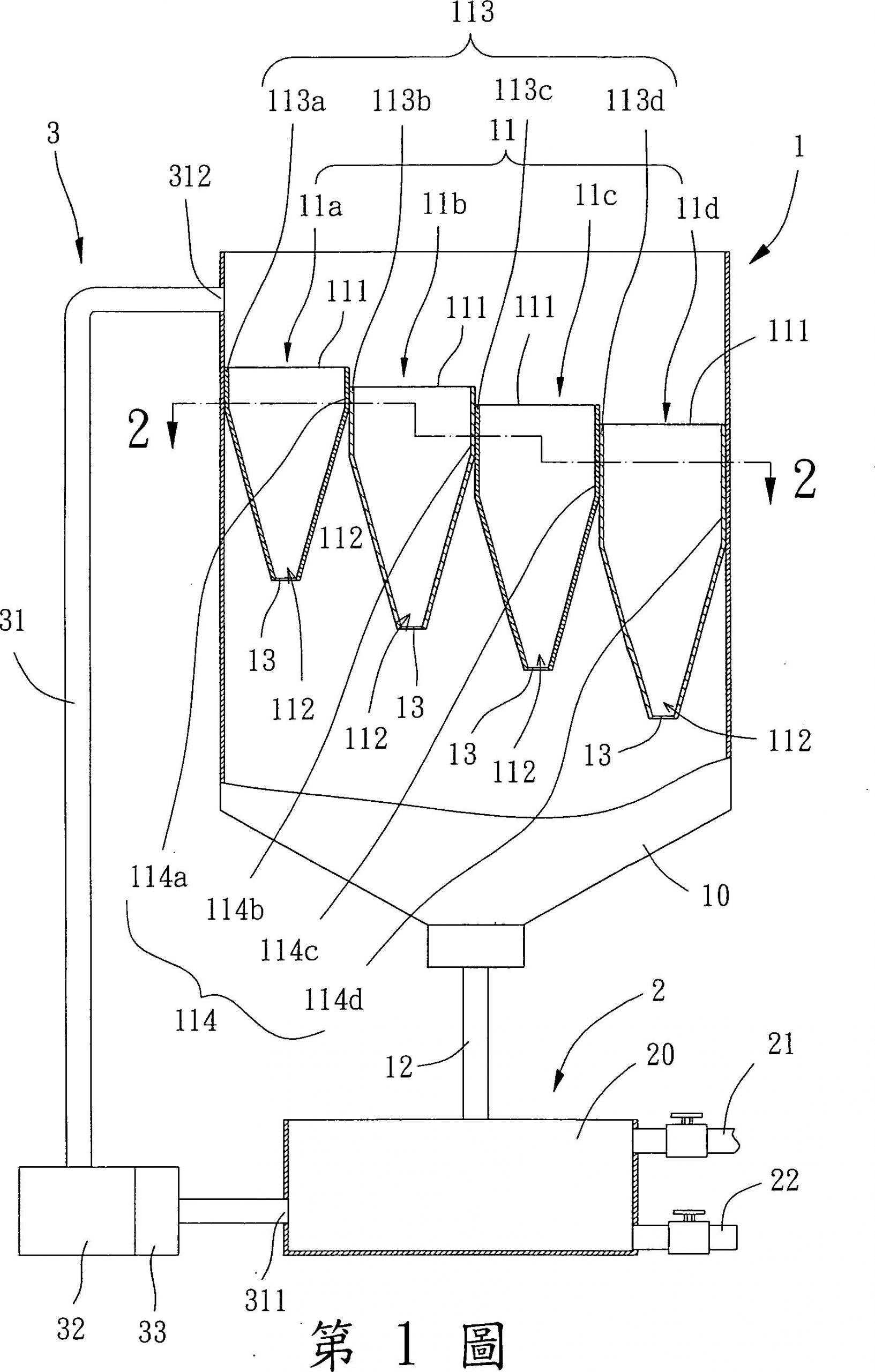
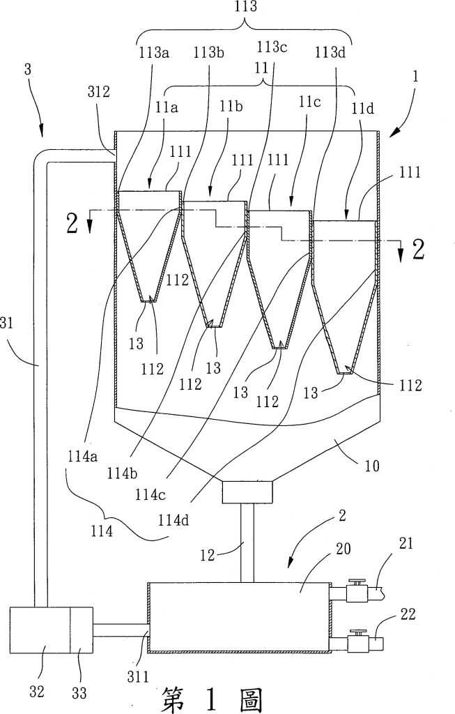
一種飛灰水洗合併顆粒分離裝置,係包含一過濾池,設有數濾槽及一排液管,該數濾槽設置於該過濾池之內部空間,各該濾槽的頂部開口與相鄰濾槽的頂部開口間具有垂直方向的一縱向高度落差,以利不同尺寸之飛灰懸浮粒子逕流至各該合適濾槽,且各該濾槽之底部開口設有一濾膜,該排液管設置於該過濾池之底部,該排液管之一端與該內部空間相連通;一回收槽,設有一入水管路及一出水管路,該排液管之另一端、入水管路及出水管路分別與該回收空間相連通;及一迴流單元,設有一輸送管件及一泵浦,該輸送管件係具有一第一端及一第二端,該第一端連通該回收空間,該第二端則連通該過濾池之內部空間,形成一循環迴路。

可應用範圍
(產業利用性)

照片/圖示

附件