國立屏東科技大學
可移轉專利技術摘要

專利名稱

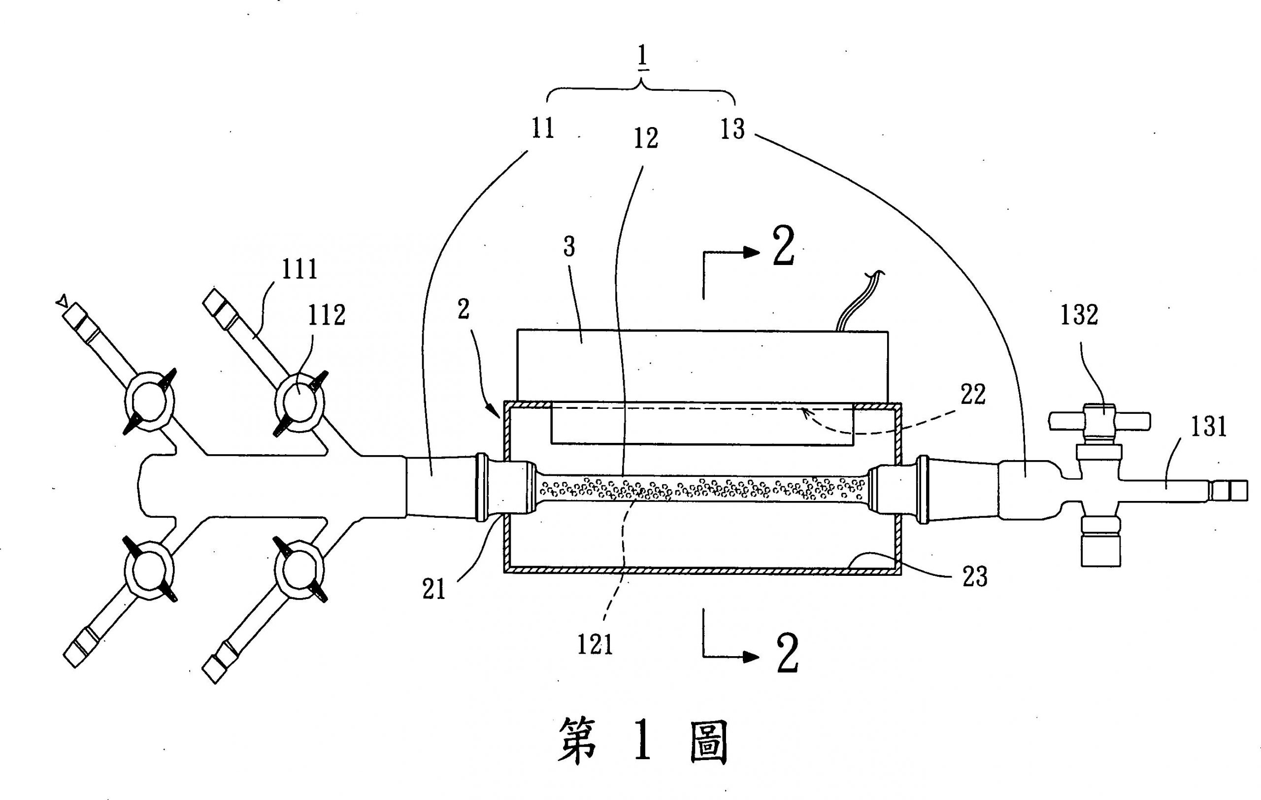
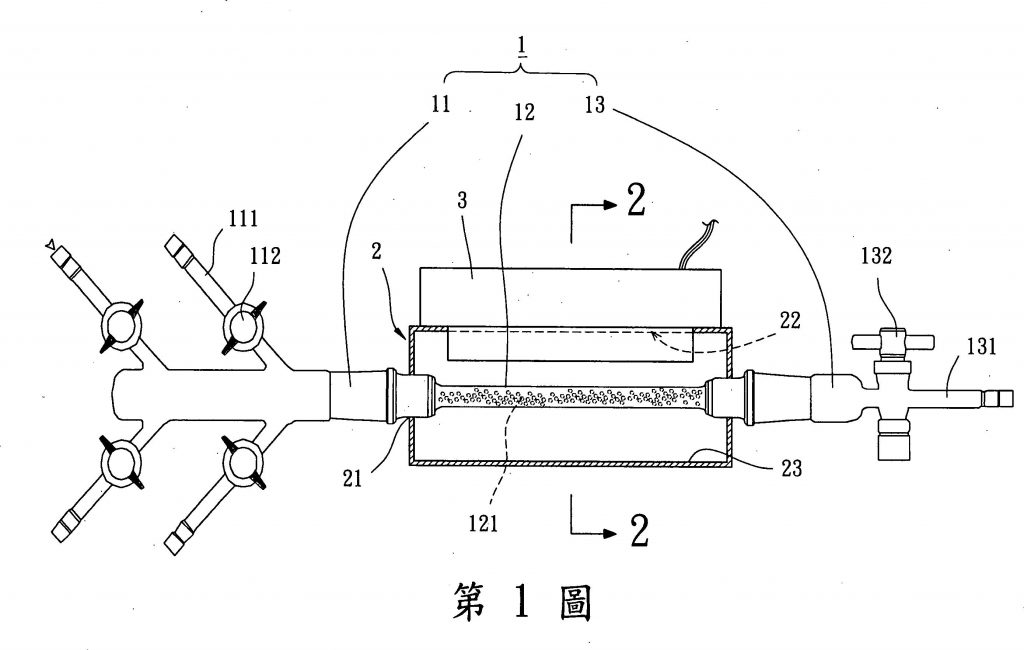
處理含乙烯基單體之氣體的光反應器

專利證號

I377977

專利國別

中華民國

專利類型

公告日

2012/12/01

發明人代表

黃武章、張齡尹、劉晏嘉、李怡靜

專利技術摘要

一種處理含乙烯基單體之氣體的光反應器,係包含一管體、一阻光元件及一活化光源,該管體係包含一第一區段、一第二區段及一第三區段,該第一區段係設有一接口,該第二區段內係設有光觸媒,該第三區段係設有一出氣口;該阻光元件係圍繞包覆於該第二區段之外圍,該阻光元件係包含一開口及一反射層之係包含一反射層,該開口係開設於該阻光元件之表面,該反射層係設置於該阻光元件之內表面;該活化光源係結合於該阻光元件,用以照射活化該光觸媒。

可應用範圍
(產業利用性)

照片/圖示

附件