國立屏東科技大學
可移轉專利技術摘要

專利名稱

口腔清潔裝置

專利證號

I384965

專利國別

中華民國

專利類型

公告日

2013/02/11

發明人代表

黃馨慧、 廖益圍、張俊仁、鄭伊佐

專利技術摘要

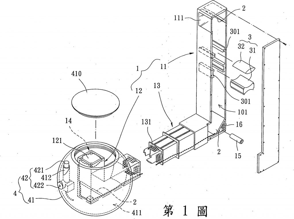
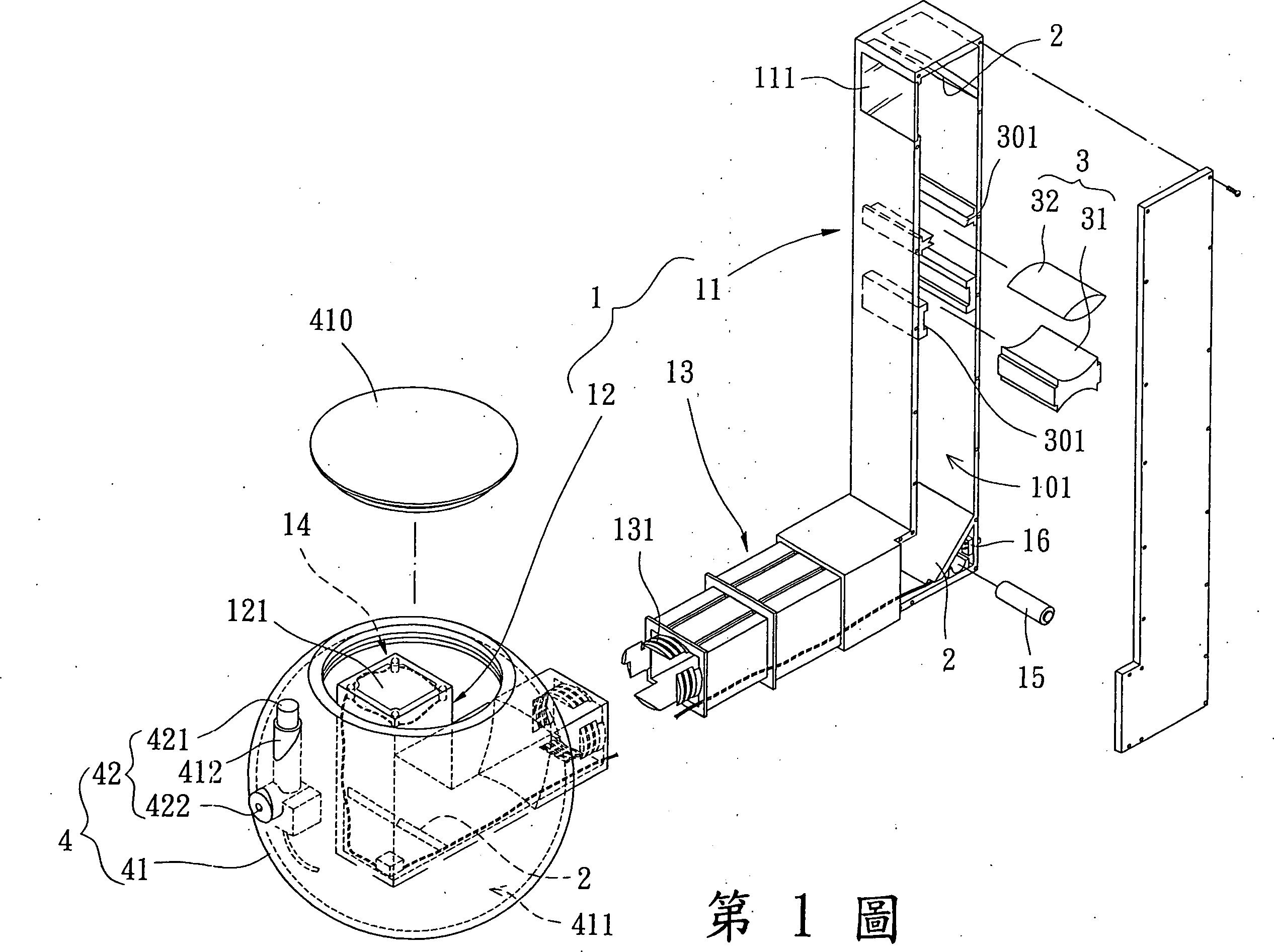
一種口腔清潔裝置,包含:一本體,係具有一觀測端及一照攝端,且該本體內形成有一內部通道,該觀測端及該照攝端相對位於該內部通道之兩端,該觀測端設有一視窗,該照攝端設有一影像擷取開口,該視窗經由該內部通道與該影像擷取開口相連通;數個影像反射單元,係容置於該內部通道內,各該影像反射單元之間保持有一間隔距離;一影像透射單元,係容置於該內部通道內,且位於靠近該視窗的二影像反射單元之間;及一清潔單元,設有一儲液體及一噴霧元件,該儲液體結合於該照攝端,該儲液體具有一容室及一開口,該開口連通該容室,該噴霧元件容置於該容室內,該噴霧元件設有一噴頭,該噴頭與該開口相互對位且連通。

可應用範圍
(產業利用性)

照片/圖示

附件