跳到主要內容
回首頁
聯絡我們
研究發展處
國立屏東科技大學
中心簡介
成員執掌
專利資訊
本校專利資訊管理
本校專利資訊
專利事務所訊息
專利清冊
登入
表單下載
專利讓與公告
研習活動報名
宣導專區
相關法規
本校相關法規
政府法規
智慧財產相關連結
國立屏東科技大學
可移轉專利技術摘要
回列表
🖨 列印
專利名稱
竹炭紙之製造方法
專利證號
I385289
專利國別
中華民國
專利類型
發明
公告日
2013/02/11
發明人代表
林曉洪、劉佩玲
專利技術摘要
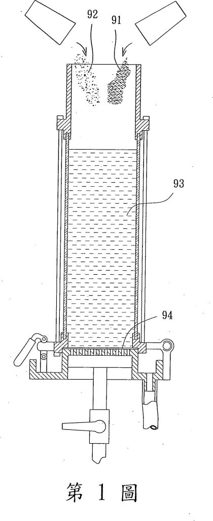
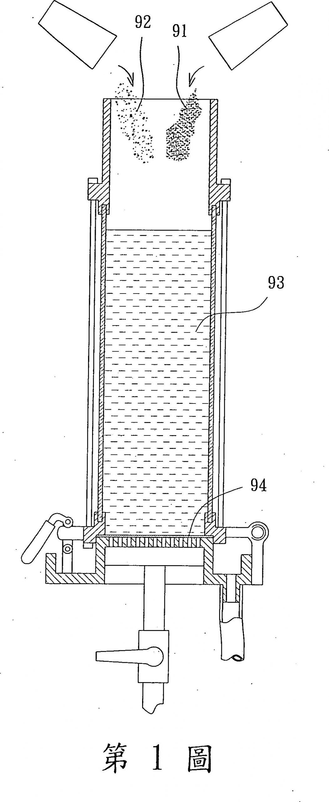
一種竹炭紙之製造方法,係包含:將紙漿、竹炭顆粒及一保留助劑於一液體中均勻混合,以共同形成一混合液;提供一濾材具有一第一面及一第二面,並使該混合液通過該濾材,以去除該液體,使得該紙漿、竹炭顆粒及保留助劑於該濾材之第一面共同形成一含炭紙材;使該第二面處之壓力低於該第一面處之壓力,以抽吸該含炭紙材;及乾燥該含炭紙材,以獲得一竹炭紙。
可應用範圍
(產業利用性)
照片/圖示
附件
上一頁
上一篇
鋅空氣燃料電池之氧化鋅的還原方法
下一篇
微槽孔過篩板之製作方法
下一篇