國立屏東科技大學
可移轉專利技術摘要

專利名稱

電磁式微幫浦

專利證號

I392639

專利國別

中華民國

專利類型

公告日

2013/04/11

發明人代表

傅龍明、李佳言、溫志湧

專利技術摘要

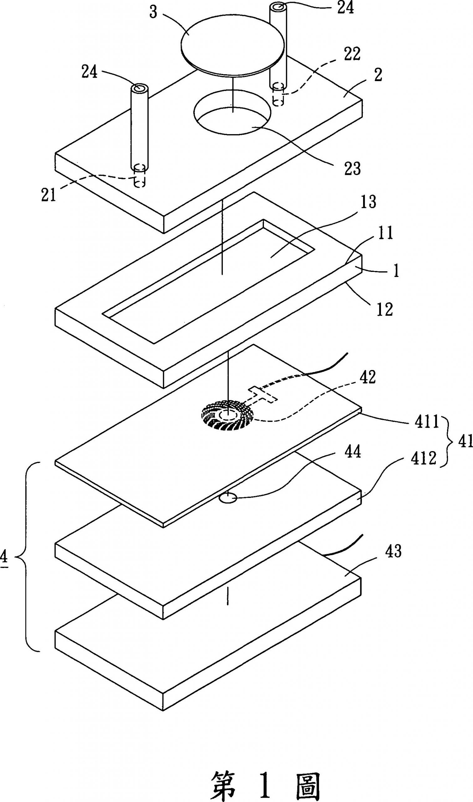
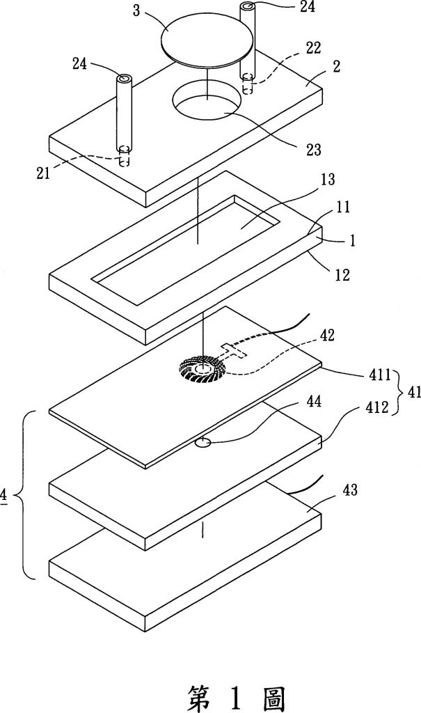
一種電磁式微幫浦,係包含一基板、一蓋板、一磁性薄膜及一線圈單元。該基板具有一第一面及第二面,且該第一面凹陷形成一流槽;該蓋板係設置於該基板之第一面,該蓋板設有分別與該流槽相連通並貫穿該蓋板之一輸入孔、一輸出孔及一通孔,該通孔係位於該輸入孔及輸出孔之間;該磁性薄膜具有彈性變形能力且設置於該蓋板之表面並覆蓋封閉該通孔;該線圈單元係設置於該基板之第二面且對位於該通孔。

可應用範圍
(產業利用性)

照片/圖示

附件