國立屏東科技大學
可移轉專利技術摘要

專利名稱

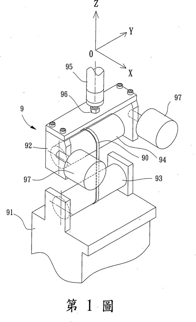
夾具試驗機

專利證號

I396843

專利國別

中華民國

專利類型

公告日

2013/05/21

發明人代表

謝啟萬、吳洽興

專利技術摘要

一種夾具試驗機,係包含一固定座、一移動座及一平衡錘,該固定座具有一第一固定部,該移動座設於一懸桿,該懸桿能夠帶動該移動座沿該懸桿之軸心線的延伸方向往復移動,該移動座具有一第二固定部,且該第二固定部係面向該第一固定部,該移動座具有一組裝面,該平衡錘係設於該組裝面且沿一軸向延伸通過一參考面,該參考面係垂直於該組裝面並與該懸桿之軸心線重合,且該平衡錘在該軸向上的兩端係不凸出於該移動座,以避免人員碰撞之危險。

可應用範圍
(產業利用性)

照片/圖示

附件