專利名稱
仿生植物裝置
專利證號
I403348
專利國別
中華民國
發明人代表
張仲良、謝銘峰
專利技術摘要
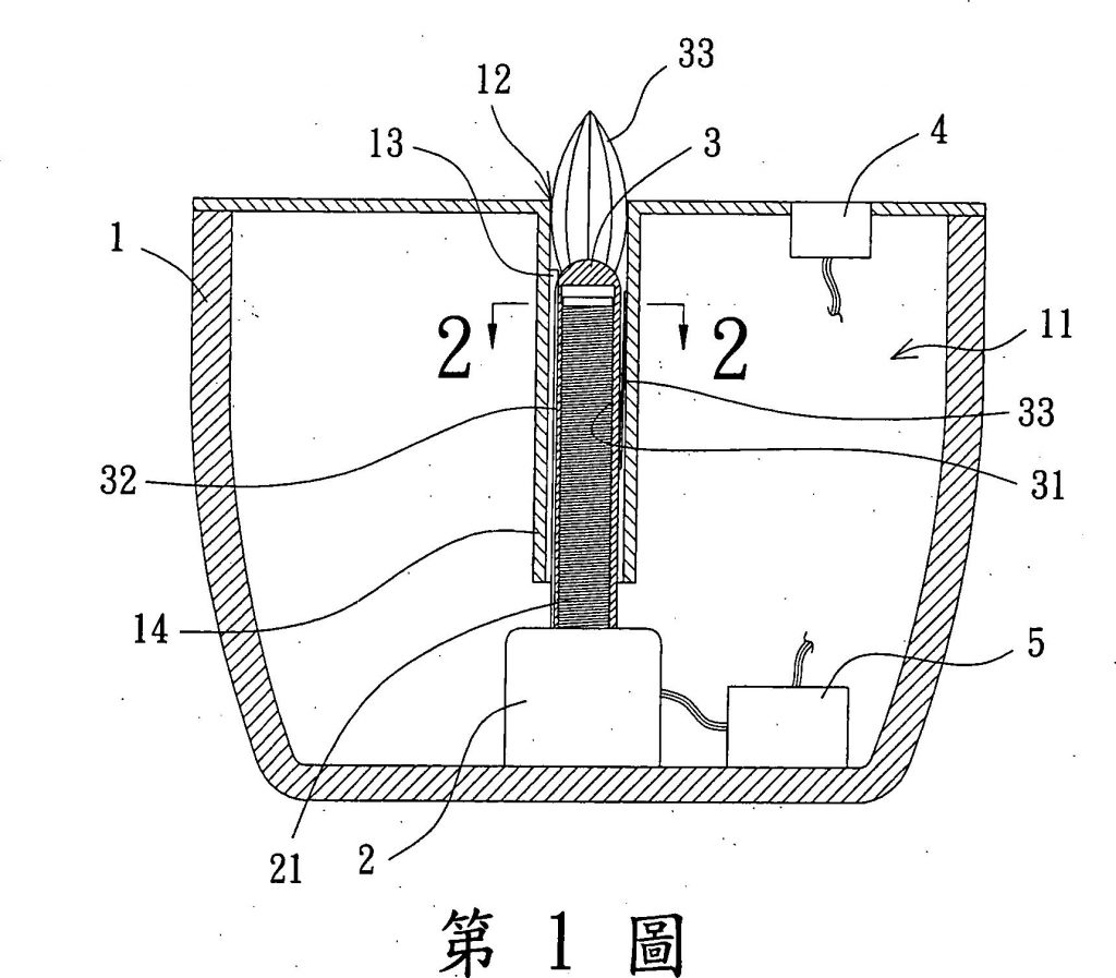
一種仿生植物裝置,係包含一主體、一驅動單元、一植體單元及一控制單元,該主體具有一開口,該開口與該主體之一容置空間相連通;該驅動單元設置於該容置空間內;該植體單元設置於該容置空間內且一端對位於該開口,該植體單元藉由一組裝部可移動的與該驅動單元相結合;該控制單元電性連接該驅動單元。藉由該控制單元控制該驅動單元帶動該植體單元作動,使得該植體單元之一端得以逐漸穿伸通過該開口,以達到模擬植物生長的過程。