國立屏東科技大學
可移轉專利技術摘要

專利名稱

往復式循環加熱器

專利證號

I404570

專利國別

中華民國

專利類型

公告日

2013/08/11

發明人代表

陳志堅

專利技術摘要

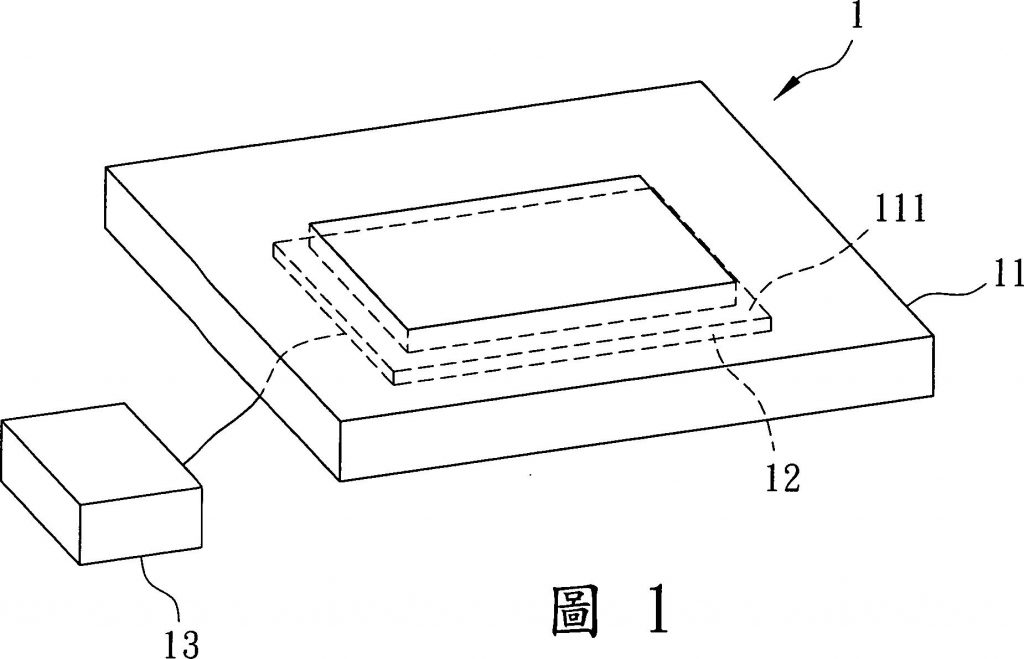
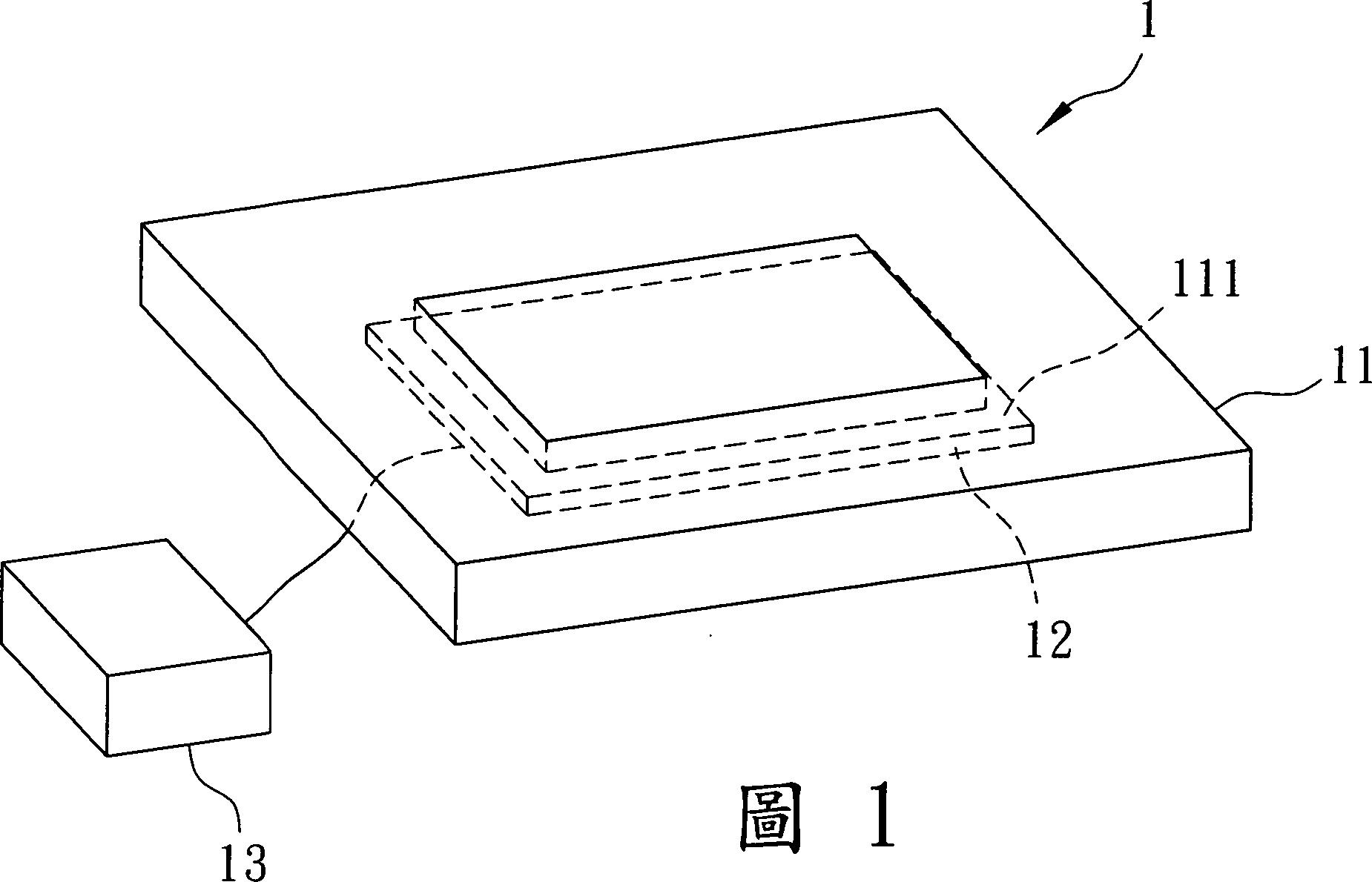
一種往復式循環加熱器,供容放並加熱待測樣本,包含具有空間的殼體、設置在殼體上並可被控制地對空間加熱使其形成複數均溫區的加熱裝置,及具有反應容槽與動力單元的驅動裝置,反應容槽可移動地設置在空間中且體積不大於任一均溫區,用以可密閉地容放待測樣本,動力單元與反應容槽連接並可被控制地帶動反應容槽往復地在該等均溫區中位移,本發明將待測樣本密閉地容放在反應容槽中進行不同溫度的加熱循環,可避免待測樣本數量在加熱循環過程中損失與汙染。

可應用範圍
(產業利用性)

照片/圖示

附件