國立屏東科技大學
可移轉專利技術摘要

專利名稱

濃差驅動式海水淡化裝置

專利證號

I410377

專利國別

中華民國

專利類型

公告日

2013/10/01

發明人代表

戴昌賢、黃武章

專利技術摘要

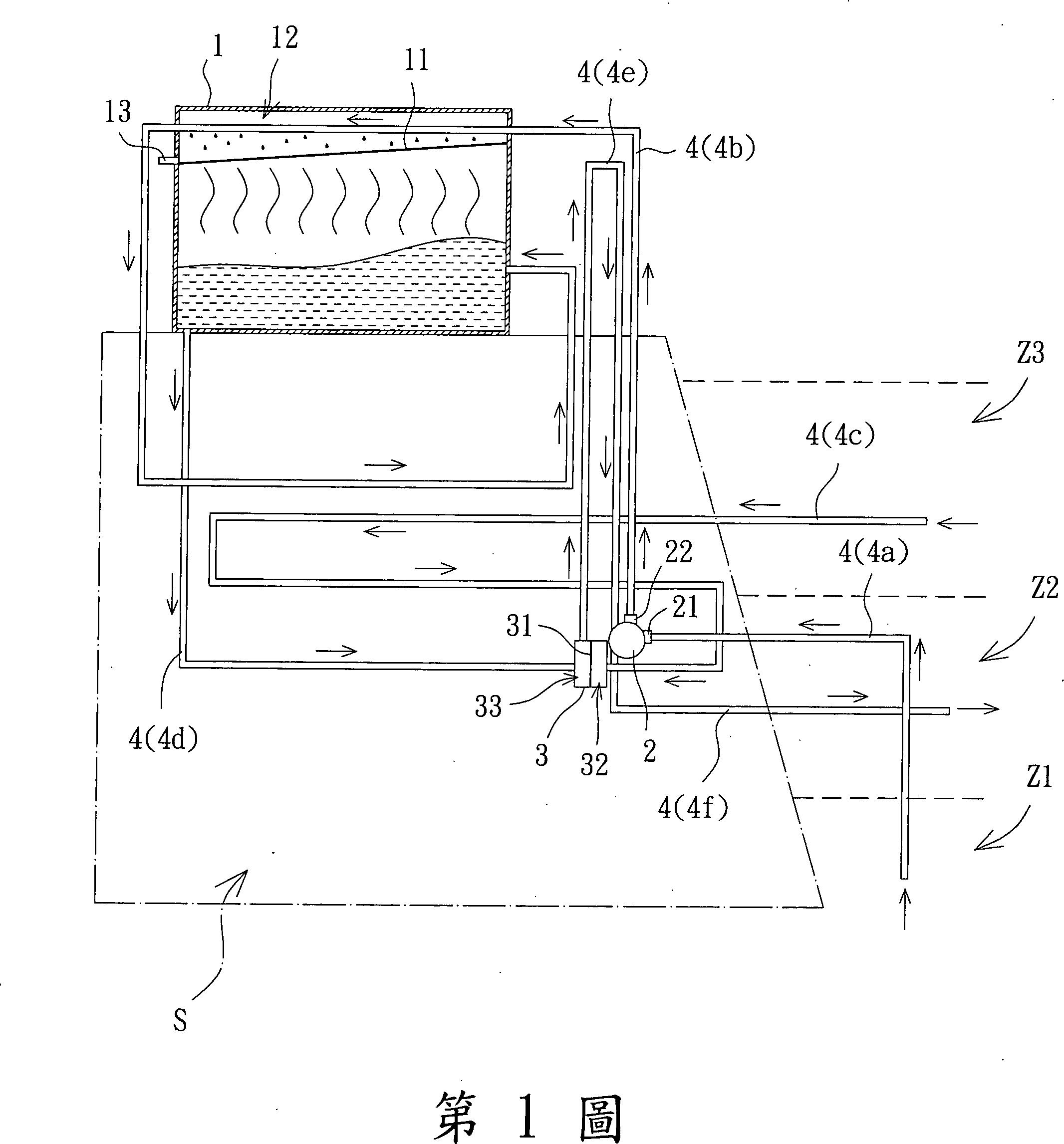
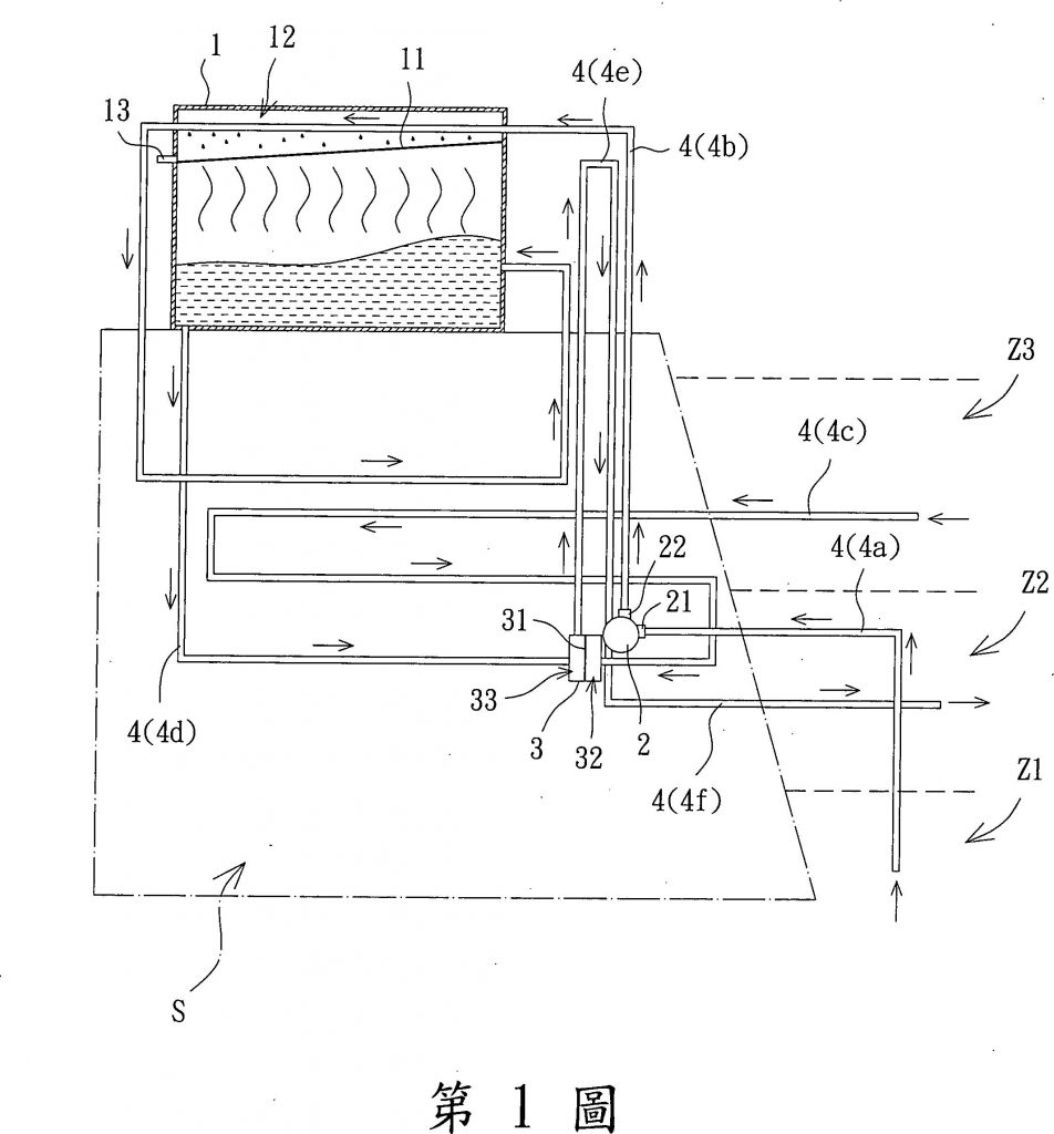
一種濃差驅動式海水淡化裝置,包含一低壓海水蒸發室、一泵浦、一滲壓槽及數個管體;該低壓海水蒸發室可設於地面,該泵浦及滲壓槽則設置於該低壓海水蒸發室底下之一設置空間中,並由該數個管體相互串接或連通。該濃差驅動式海水淡化裝置可利用各層海域海水本身鹽分之濃度差,將位能轉換成動能以驅動該泵浦抽取海水進行淡化,具有節省能源成本之功效。

可應用範圍
(產業利用性)

照片/圖示

附件