國立屏東科技大學
可移轉專利技術摘要

專利名稱

瓶蓋

專利證號

I411559

專利國別

中華民國

專利類型

公告日

2013/10/11

發明人代表

林芳銘、謝昀霖

專利技術摘要

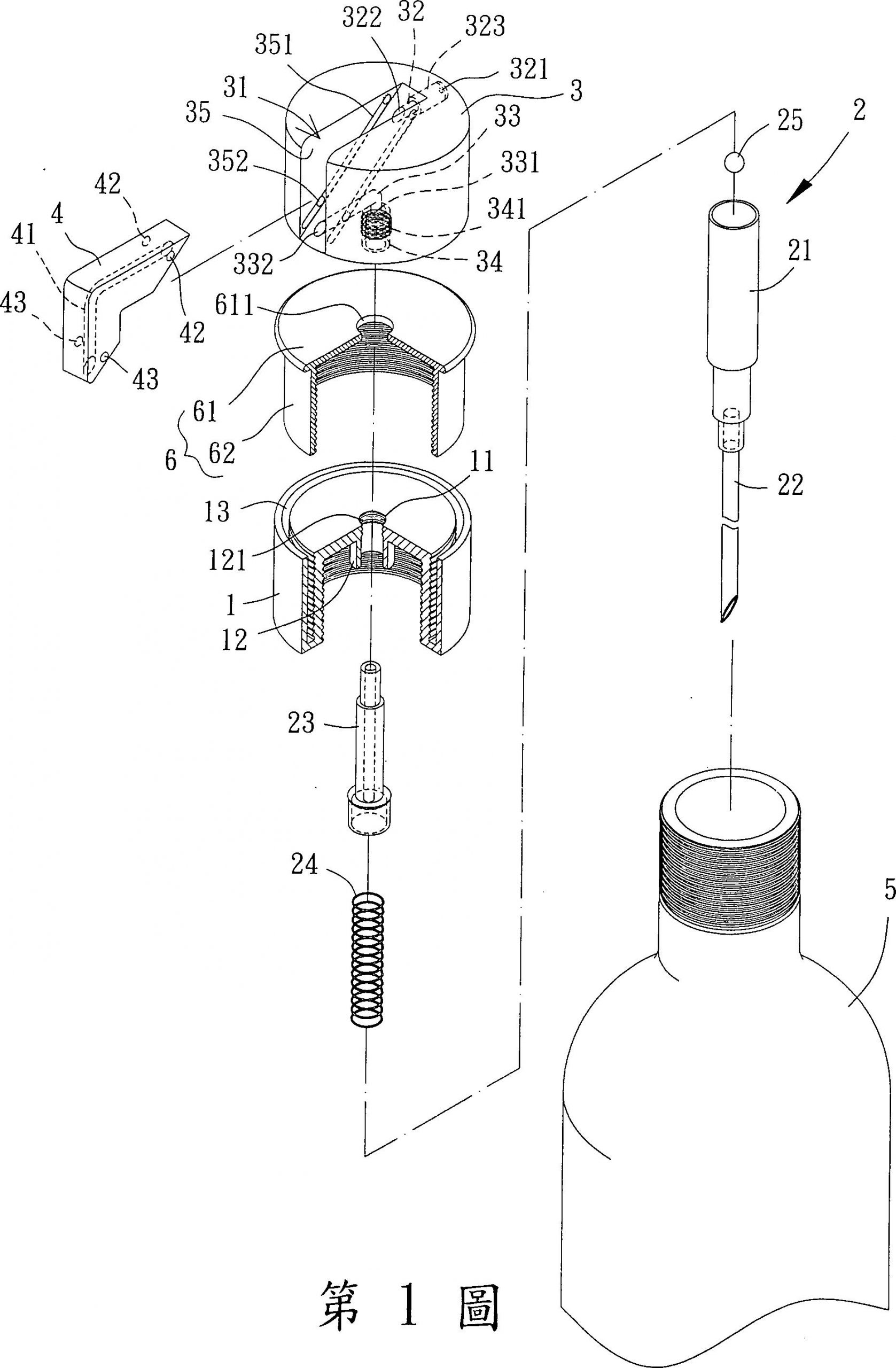
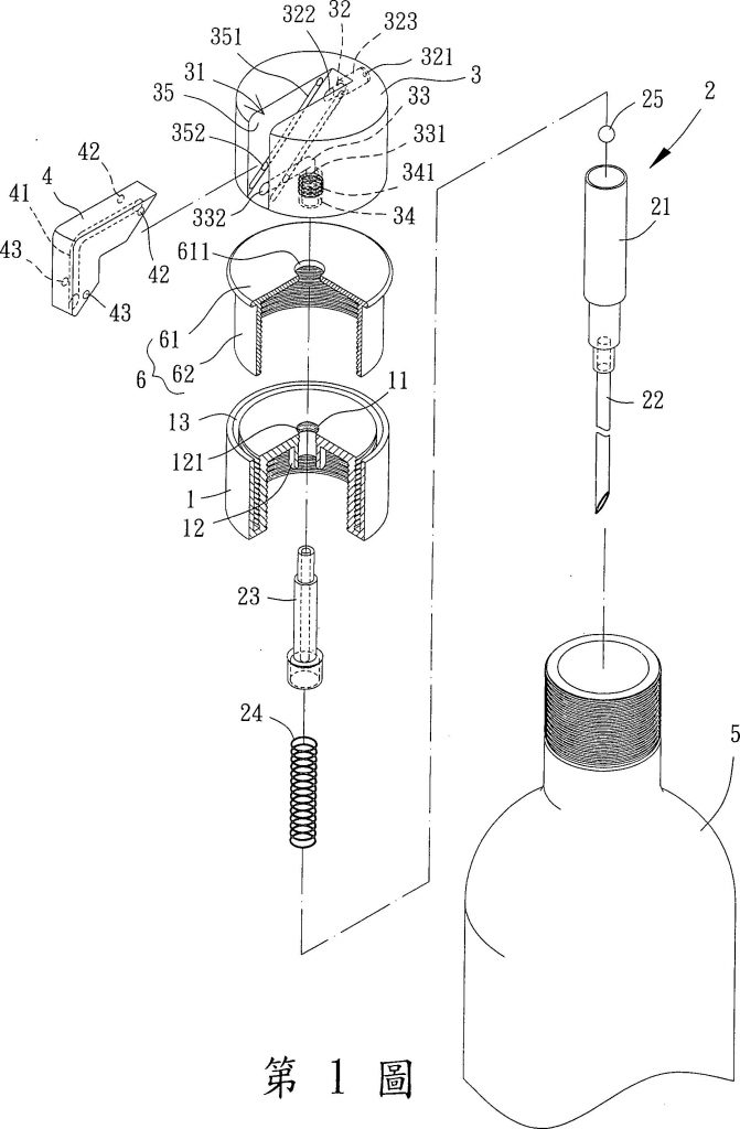
一種瓶蓋,係包含:一封閉件,設有一穿孔;一壓頭,設有一調控部,該壓頭設有從表面貫穿至該調控部之至少二通道;一汲液組件,穿過該穿孔並結合於該封閉件,該汲液組件之一端與該壓頭相接並與其中一通道相連通;及一出液路徑控制件,內部設有一流道,該出液路徑控制件可移動地設置於該調控部中,以切換該流道與各通道之間的連通狀態。

可應用範圍
(產業利用性)

照片/圖示

附件