國立屏東科技大學
可移轉專利技術摘要

專利名稱

刷牙訓練裝置

專利證號

I413031

專利國別

中華民國

專利類型

公告日

2013/10/21

發明人代表

羅希哲、陳乃綺、賴映伶、鄒金珊、鮑佳玄、孫巧樺

專利技術摘要

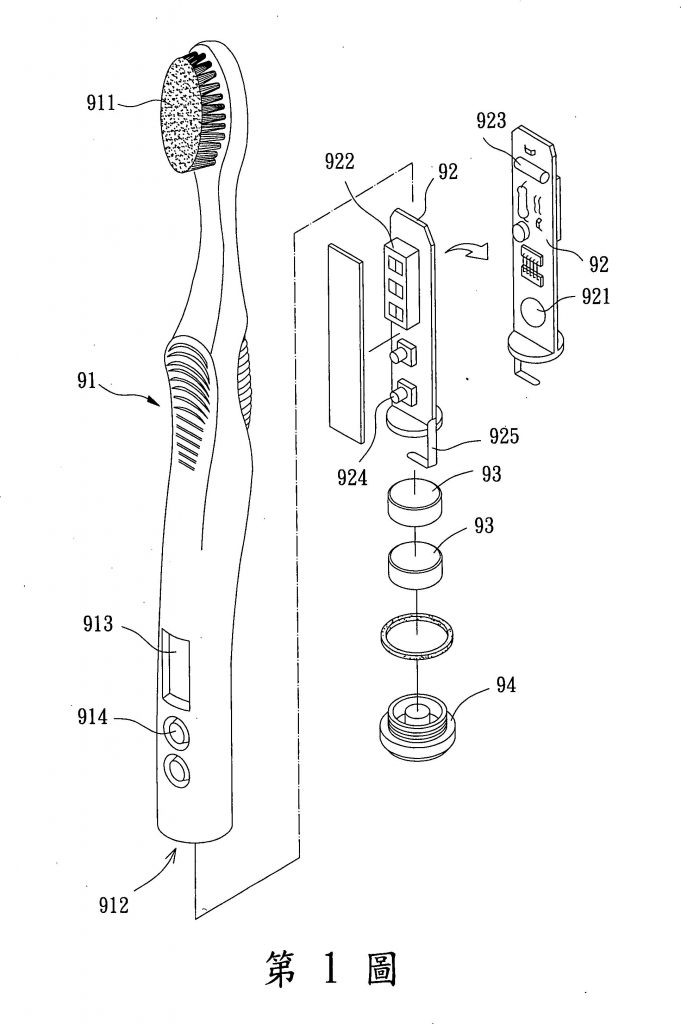
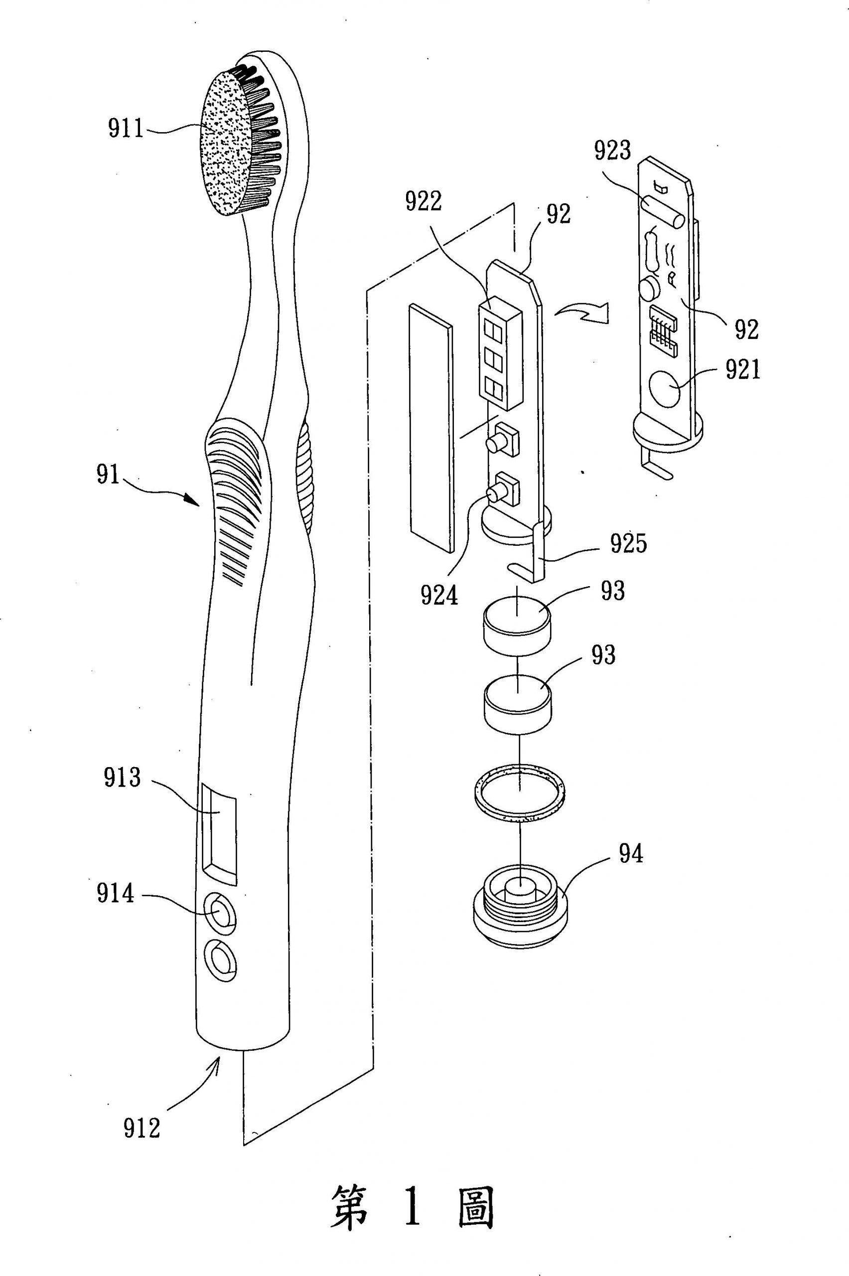
一種刷牙訓練裝置,係包含一牙刷單元、一頭形本體、一感應組件及一控制元件,該牙刷單元設有一第一感應元件;該頭形本體具有一嘴部及數牙齒,該嘴部形成於該頭形本體之一側,該數牙齒設置於該嘴部內壁面;該感應組件具有數第二感應元件及數發光元件,各該第二感應元件及各該發光元件設置於該牙齒,該第二感應元件與該發光元件電性連接;該控制元件與各該第二感應元件電性連接。藉由各該第二感應元件感應該第一感應元件通過自身達一預定次數後,該控制元件係控制特定之發光元件是否發光,進而培養正確的刷牙方式,達到提升牙齒保健的功效。

可應用範圍
(產業利用性)

照片/圖示

附件