專利名稱
可組合成卡通動物造型的組合桌椅
專利證號
I424824
專利國別
中華民國
發明人代表
羅希哲、陳乃綺、史天嵐、林姿霓、蔡斯婷、潘奕靜
專利技術摘要
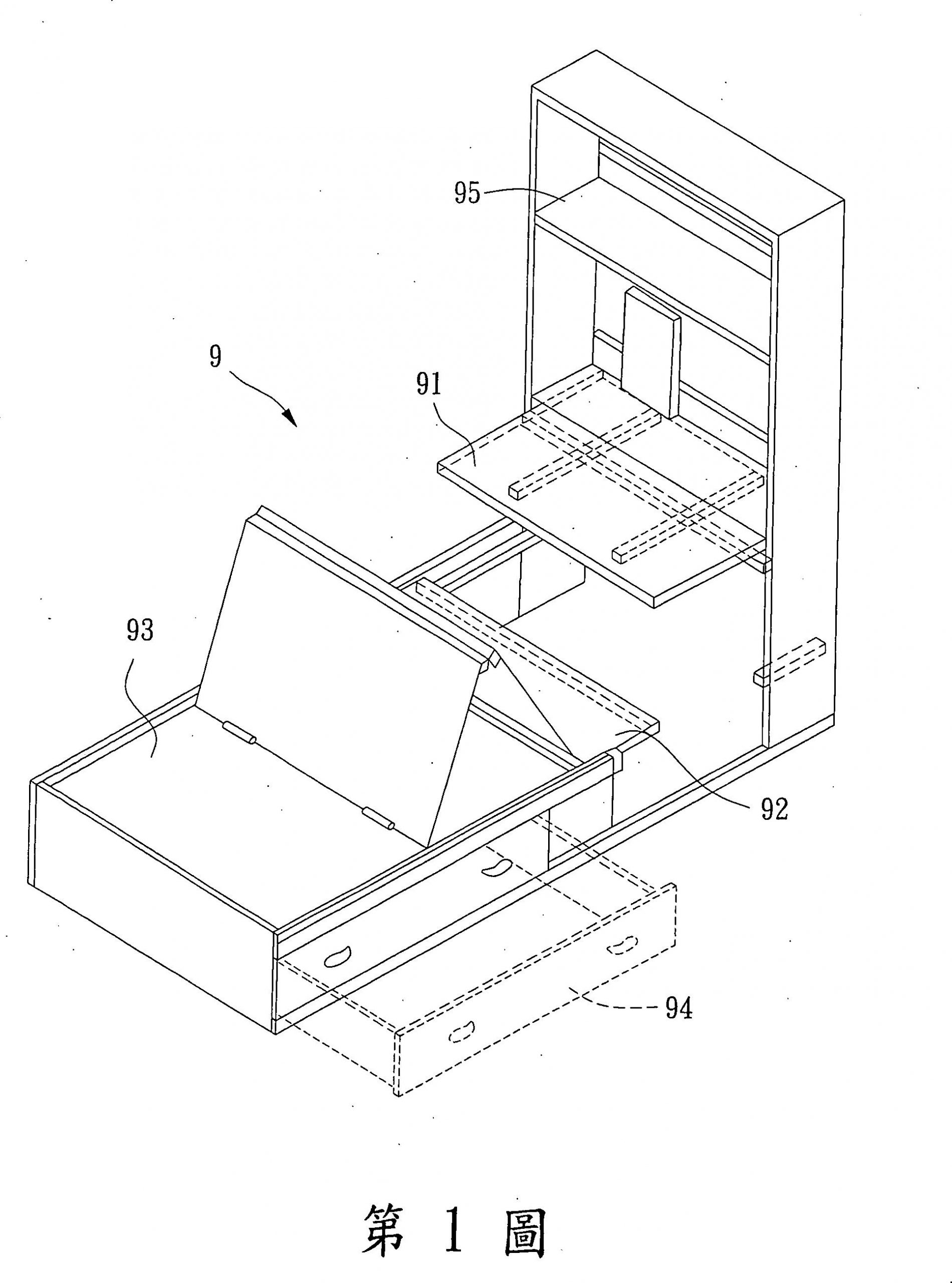
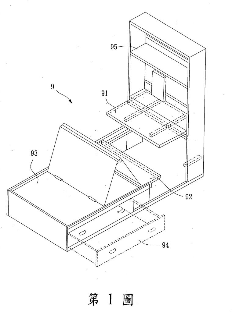
一種可組合成卡通動物造型的組合桌椅,其包含:一桌體,設有一容置空間及一平面,該容置空間具有一槽口;一活動架,係通過該槽口且置放於該容置空間中,該活動架設有一頂面及一定位件,該頂面與該平面構成一桌面,且該桌面上設有一第一卡掣部,該定位件用以定位該活動架與該桌體;一椅座,設有一結合面及一第二卡掣部,該結合面結合該桌面,且該結合面上設有該第二卡掣部,該第二卡掣部與該第一卡掣部相對應結合。