專利名稱
可控制進排氣之通風系統
專利證號
I427247
專利國別
中華民國
發明人代表
戴昌賢、苗志銘、羅四維、鄧治東
專利技術摘要
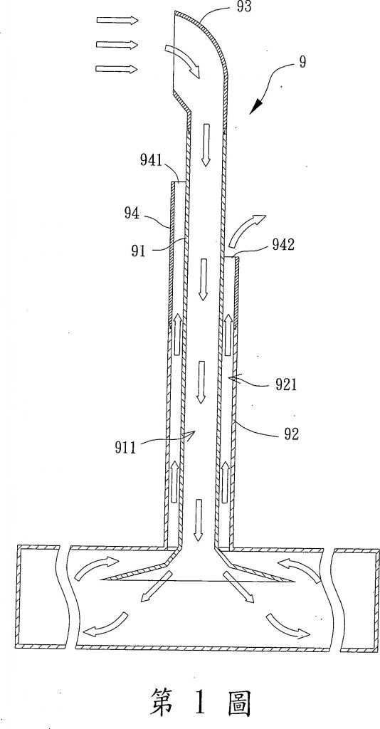
一種可控制進排氣之通風系統,係包含:同心設置之一內管及一外管、以及一進排氣控制裝置;該內管之一端朝徑向延伸並於頂側形成一排風口、於端口處形成一進風口,且該進排氣控制裝置具有一升降件、數個驅動件及一蓋板。該數個驅動件設置於該升降件之底部,該蓋板封蓋住該排風口並抵接於該升降件之頂部,該數個驅動件受熱後可頂推該升降件,使該蓋板脫離該升降件而產生樞轉,以封蓋該進風口,令外部氣流無法流入。