跳到主要內容
回首頁
聯絡我們
研究發展處
國立屏東科技大學
中心簡介
成員執掌
專利資訊
本校專利資訊管理
本校專利資訊
專利事務所訊息
專利清冊
登入
表單下載
專利讓與公告
研習活動報名
宣導專區
相關法規
本校相關法規
政府法規
智慧財產相關連結
國立屏東科技大學
可移轉專利技術摘要
回列表
🖨 列印
專利名稱
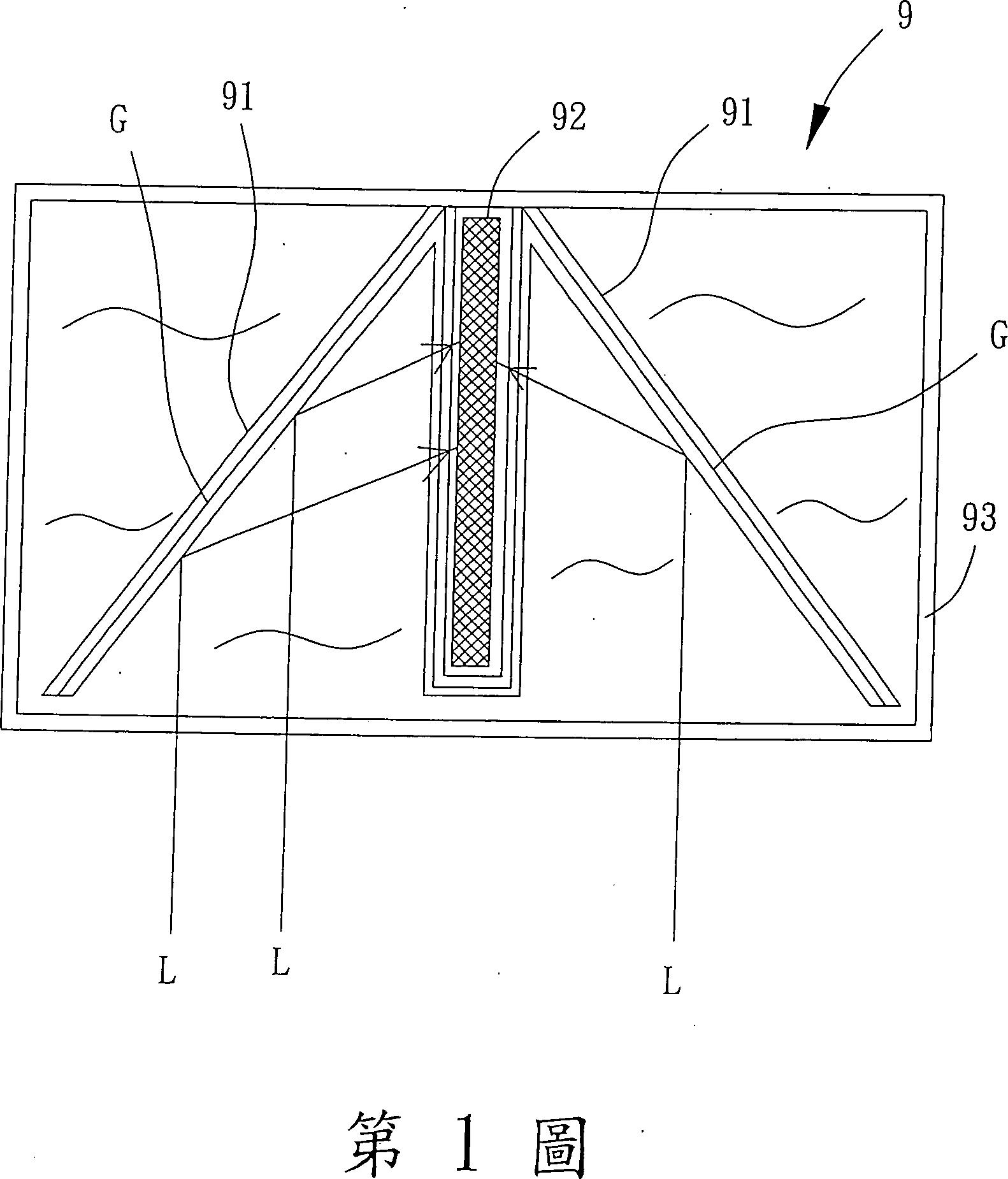
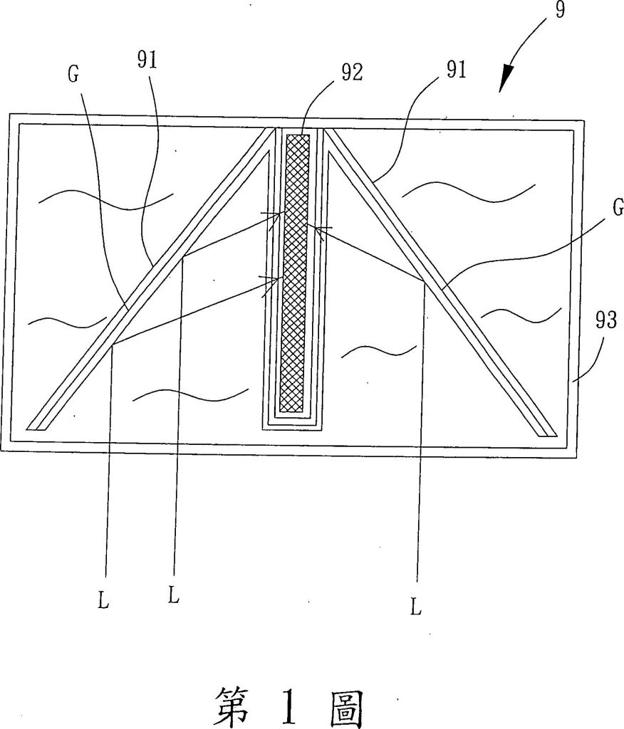
雙層集熱裝置
專利證號
I427251
專利國別
中華民國
專利類型
發明
公告日
2014/01/21
發明人代表
戴昌賢、苗志銘、徐子圭
專利技術摘要
本發明之雙層集熱裝置,包含:一儲熱層,係填充有吸熱多孔材,且該儲熱層係具有一介質表面;及一吸收層,係結合於該儲熱層之介質表面,且該吸收層係填充有溫室氣體,用以吸收熱能且使熱能經該介質表面儲存於該儲熱層。此外,於該儲熱層與吸收層之間還可以另設有數導熱件,藉此利用該數導熱件提升該吸收層與儲熱層間的熱能傳導效率。
可應用範圍
(產業利用性)
照片/圖示
附件
上一頁
上一篇
介質孔隙度測量裝置
下一篇
水禽小病毒之DNA疫苗
下一篇