國立屏東科技大學
可移轉專利技術摘要

專利名稱

混合檢測晶片

專利證號

I429894

專利國別

中華民國

專利類型

公告日

2014/03/11

發明人代表

傅龍明、侯輝雄、楊瑞珍、王耀男、吳明昌

專利技術摘要

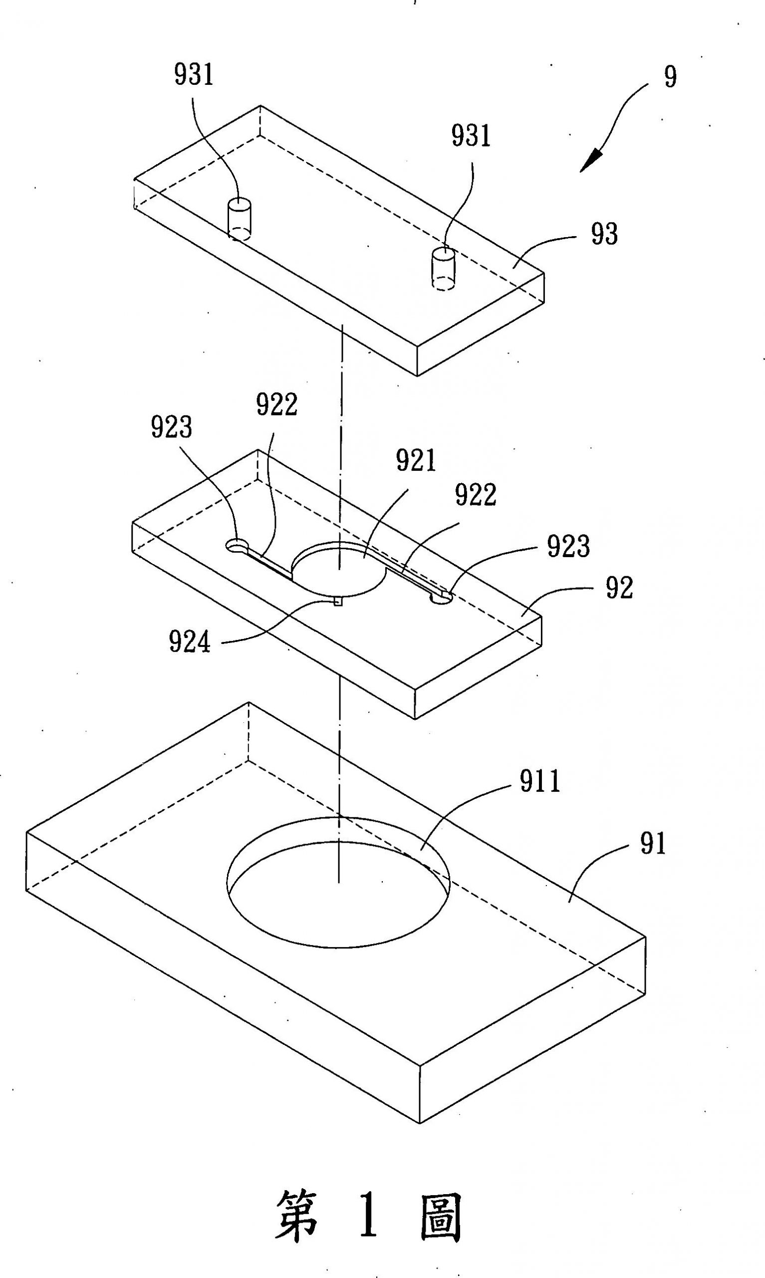
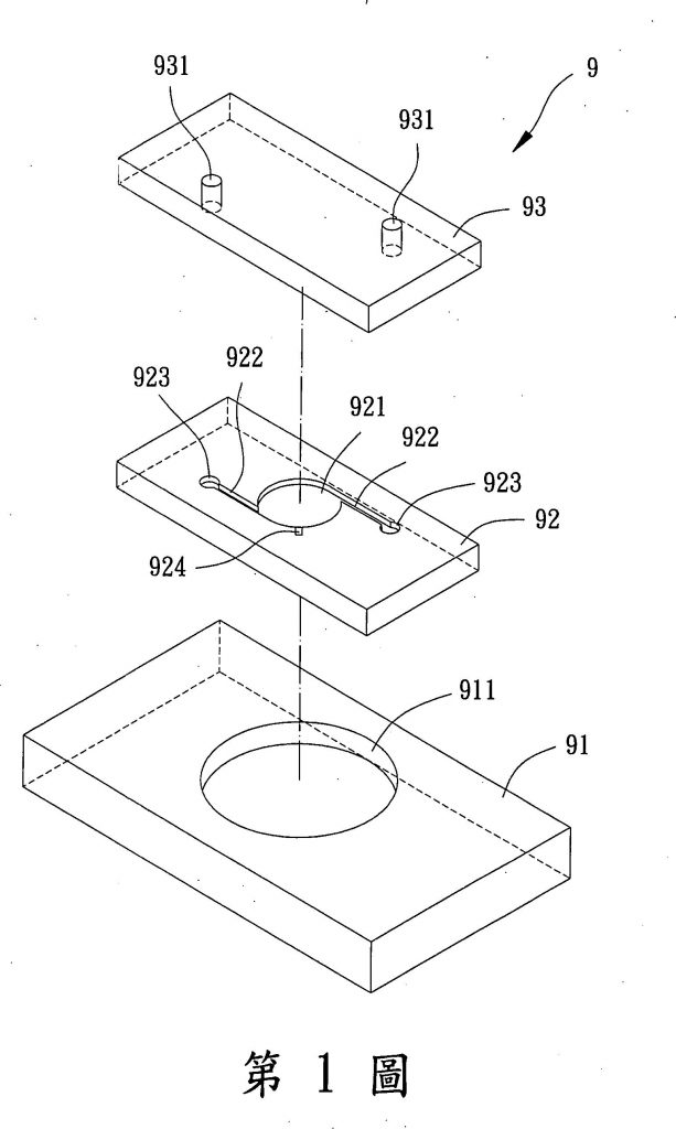
一種混合檢測晶片,其包含一第一板體、第二板體及第三板體,該第一板體設有數個混合流道及數個混合孔,各該混合流道之相對二端分別連通該混合孔之其中二個,該數個混合孔貫通該第一板體之相對二表面;該第二板體設置於該第一板體之一表面,其設有分別與各該混合流道相連通之數個注入孔;該第三板體設置於該第一板體之另一表面,其設有一容液槽及一匯流道,該匯流道之一端連通該容液槽,另一端則形成有分別與各該混合孔相連通之數個匯流端。藉此,有效提升液體混合的均勻度。

可應用範圍
(產業利用性)

照片/圖示

附件