專利名稱
太陽能熱交換裝置
專利證號
I431232
專利國別
中華民國
發明人代表
戴昌賢、苗志銘、劉耿任
專利技術摘要
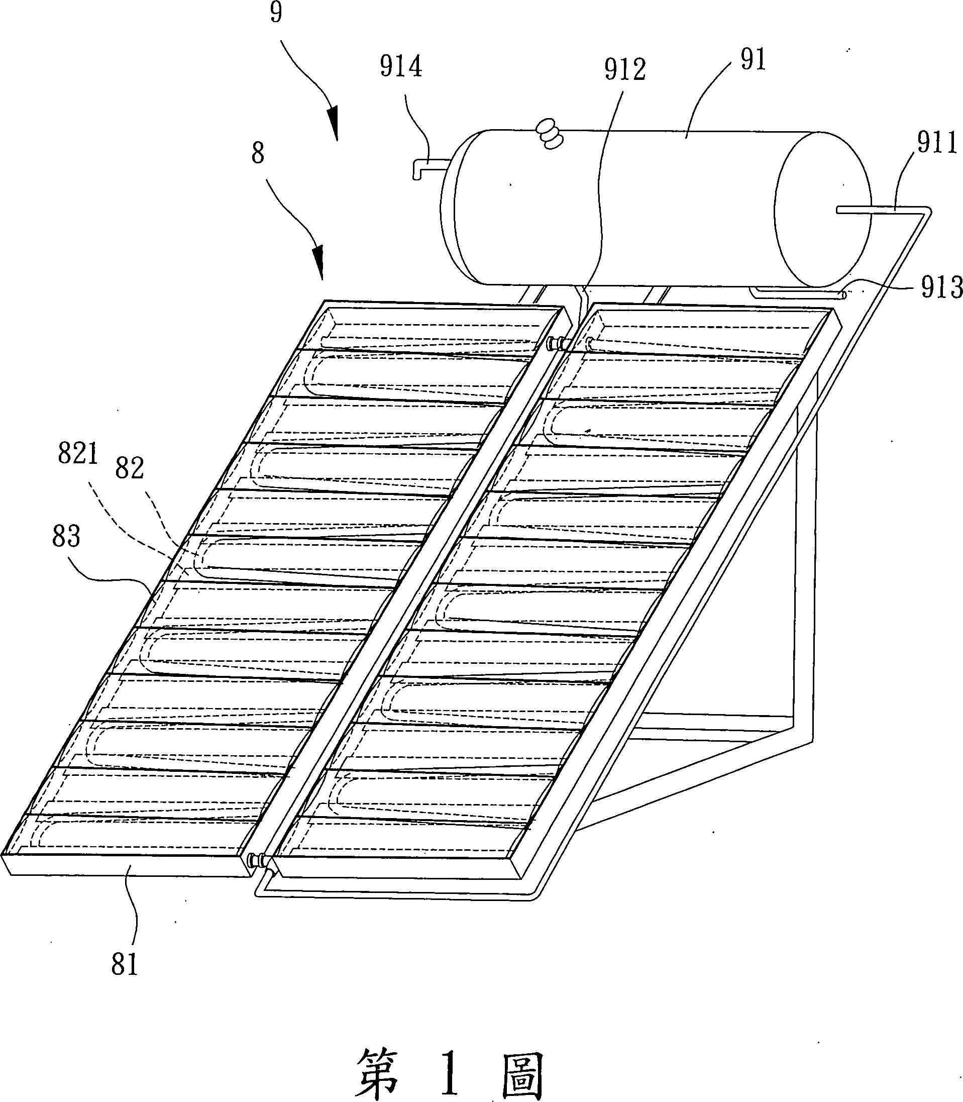
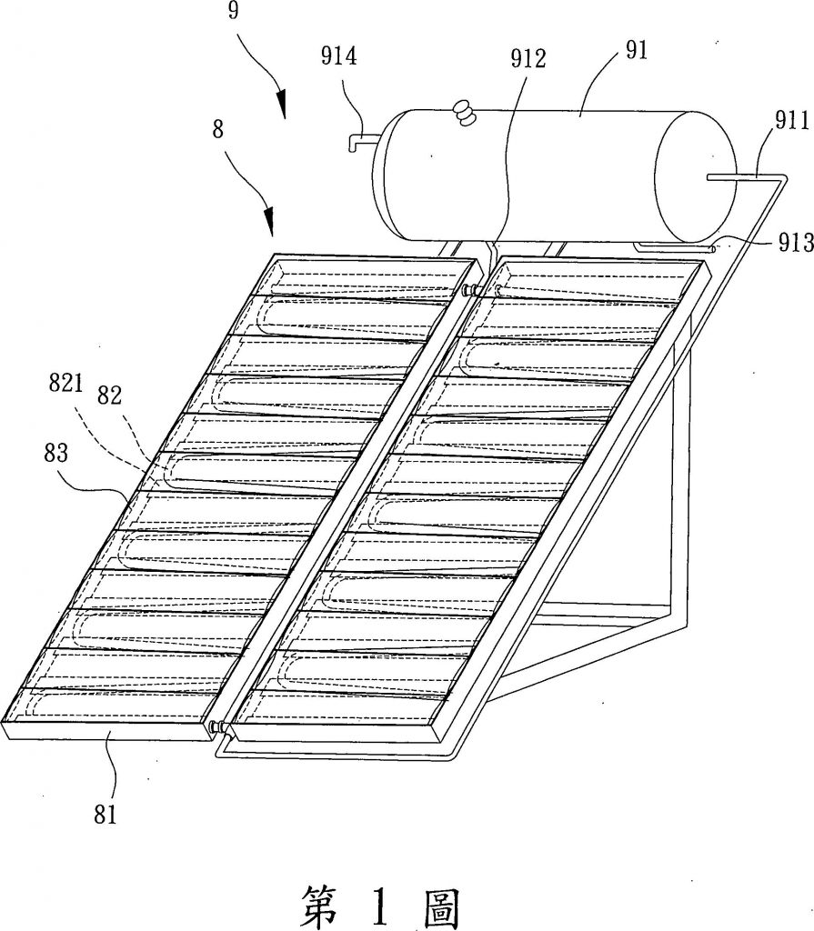
種太陽能熱交換裝置,係包含:一持熱基座,凹設有一端呈開放狀之數個集熱槽;一導管,繞設於該數個集熱槽中,且該導管外緣塗附有光熱材質;數個反光板,對應該數個集熱槽而間隔設置於該持熱基座之頂部表面,相鄰之二反光板呈斜向設置,以於對應之集熱槽上方形成向上漸擴之一光反射空間;及一透光板,設置於該數個反光板之頂部,並於對應各光反射空間處設置一聚光部。