跳到主要內容
回首頁
聯絡我們
研究發展處
國立屏東科技大學
中心簡介
成員執掌
專利資訊
本校專利資訊管理
本校專利資訊
專利事務所訊息
專利清冊
登入
表單下載
專利讓與公告
研習活動報名
宣導專區
相關法規
本校相關法規
政府法規
智慧財產相關連結
國立屏東科技大學
可移轉專利技術摘要
回列表
🖨 列印
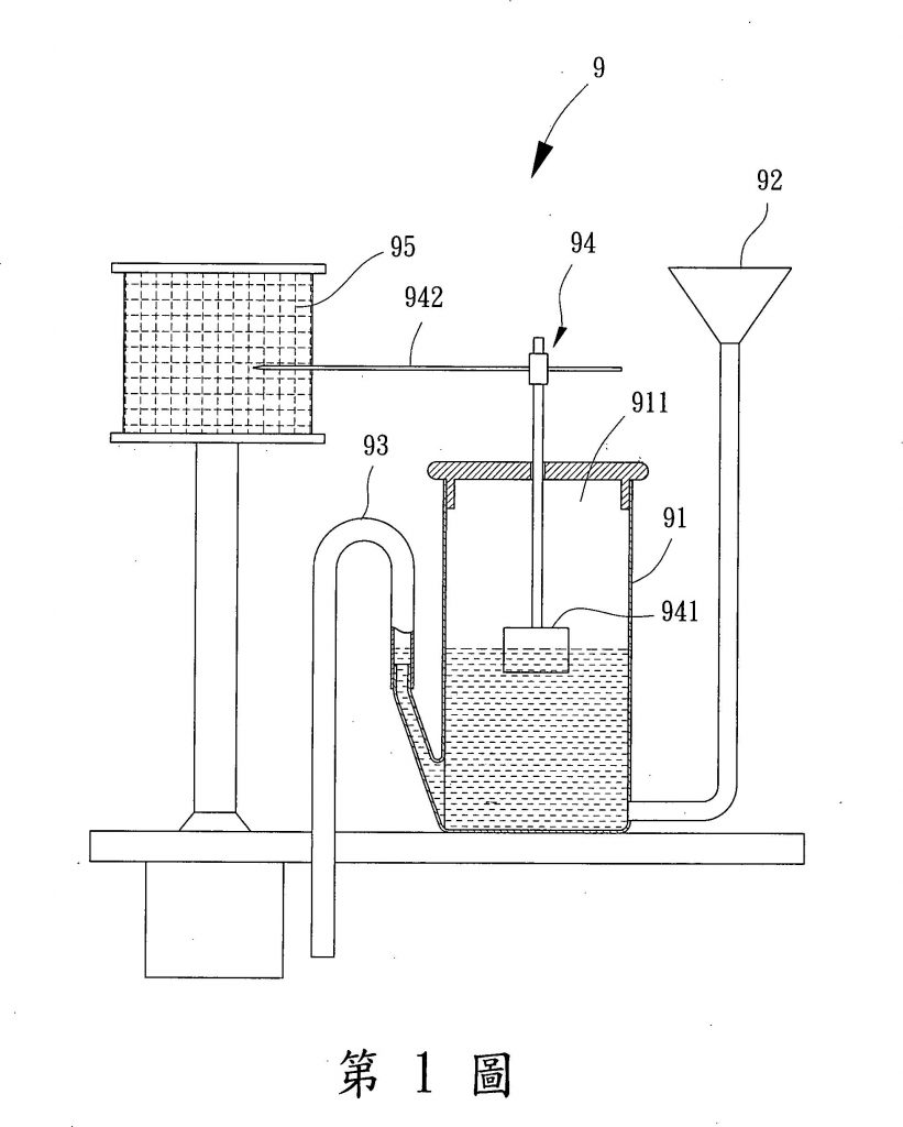
專利名稱
雨量計
專利證號
I431310
專利國別
中華民國
專利類型
發明
公告日
2014/03/21
發明人代表
李佳言、江昭皚、杜畯瑋
專利技術摘要
一種雨量計,係包含:一殼體,內部形成一容室,該容室分別有一入水口及一出水口;二傳導組件,各設一導電件及一導線,該二導電件設於該殼體之容室內,該二導線之一端電性連接該導電件,該導線之另一端輸出電性訊號;及一介質體,設於該殼體之容室內,該介質體與傳導組件之導電件接觸,該二傳導組件之二導線可以電性連接於一量測單元。
可應用範圍
(產業利用性)
照片/圖示
附件
上一頁
上一篇
預鑄廠生產存貨之管理方法
下一篇
風能與氫能複合式發電裝置
下一篇