跳到主要內容
回首頁
聯絡我們
研究發展處
國立屏東科技大學
中心簡介
成員執掌
專利資訊
本校專利資訊管理
本校專利資訊
專利事務所訊息
專利清冊
登入
表單下載
專利讓與公告
研習活動報名
宣導專區
相關法規
本校相關法規
政府法規
智慧財產相關連結
國立屏東科技大學
可移轉專利技術摘要
回列表
🖨 列印
專利名稱
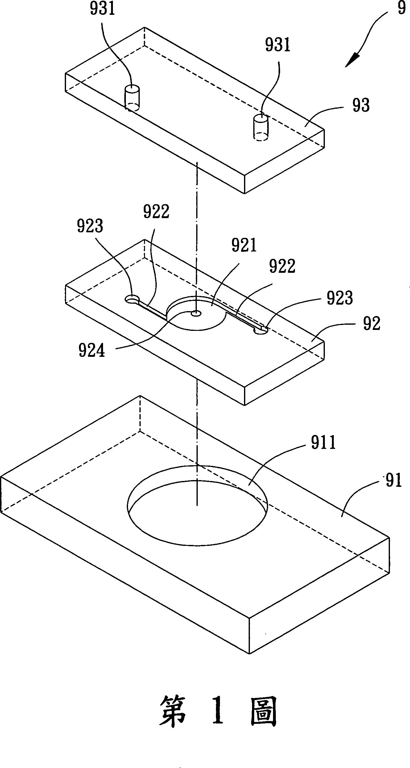
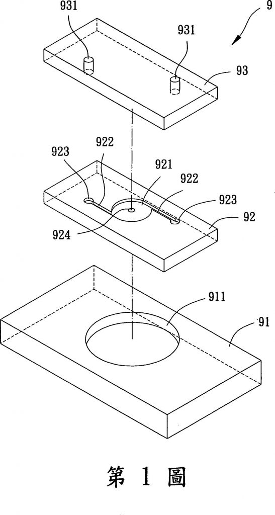
流體混合晶片
專利證號
I440502
專利國別
中華民國
專利類型
發明
公告日
2014/06/11
發明人代表
傅龍明、朱偉中、楊瑞珍、王耀男
專利技術摘要
一種流體混合晶片,係由一晶片體所製成,該晶片體設有貫穿的一第一混液槽及一第二混液槽,該第一混液槽與第二混液槽之二端皆分別以一封閉件封閉,其中一封閉件係設有對應該第一混液槽之開口,且該第一混液槽與第二混液槽之間形成一微流道,該微流道係自該第一混液槽延伸至該第二混液槽,並與該第一混液槽及第二混液槽皆呈連通。
可應用範圍
(產業利用性)
照片/圖示
附件
上一頁
上一篇
Ti-Cu-Sn鈦合金組成物
下一篇
資料分群方法
下一篇