國立屏東科技大學
可移轉專利技術摘要

專利名稱

非旋轉式磁制冷裝置

專利證號

I443293

專利國別

中華民國

專利類型

公告日

2014/07/01

發明人代表

戴昌賢、梁智創

專利技術摘要

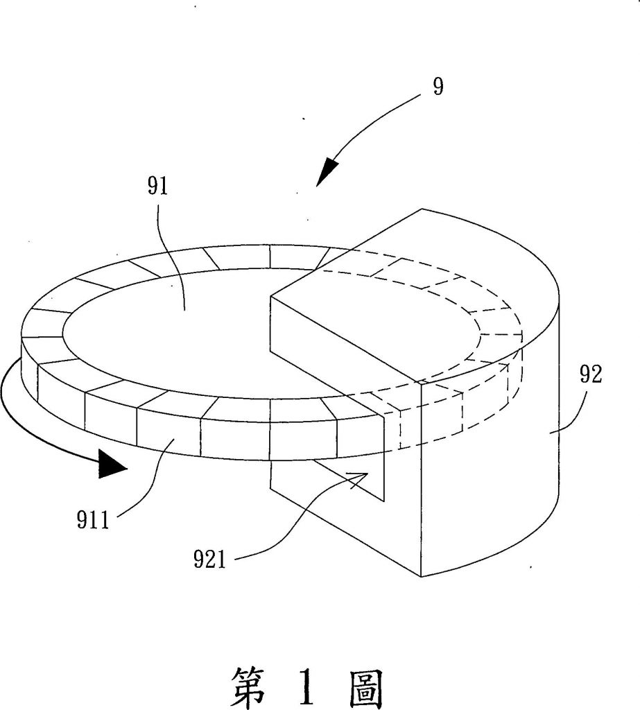
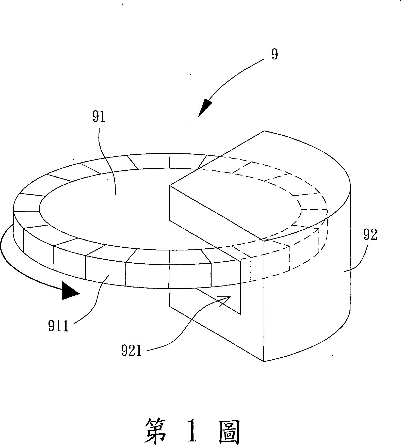
一種非旋轉式磁制冷裝置,包含:一基體,具有一底座及一上蓋,該上蓋對應蓋合該底座,該底座與上蓋共同圈圍出一氣流通道,該底座另形成有一承載空間,該承載空間與該氣流通道相互連通,該基體另開設有一熱氣輸出口及一冷氣輸出口,該熱氣輸出口及冷氣輸出口皆與承載空間相連通;一轉體,可旋轉地容置於該承載空間,該轉體設有至少一流道,且以一驅動件控制該至少一流道之二端分別與該氣流通道及熱氣輸出口或冷氣輸出口之其一連通;及一磁熱組件,具有一電磁件及一導磁件,該電磁件繞設於該基體外周,且該導磁件容置於該氣流通道,並位於該電磁件所繞設之範圍內。

可應用範圍
(產業利用性)

照片/圖示

附件