國立屏東科技大學
可移轉專利技術摘要

專利名稱

氧氣製造裝置

專利證號

I445658

專利國別

中華民國

專利類型

公告日

2014/07/21

發明人代表

戴昌賢、苗志銘、林永洲

專利技術摘要

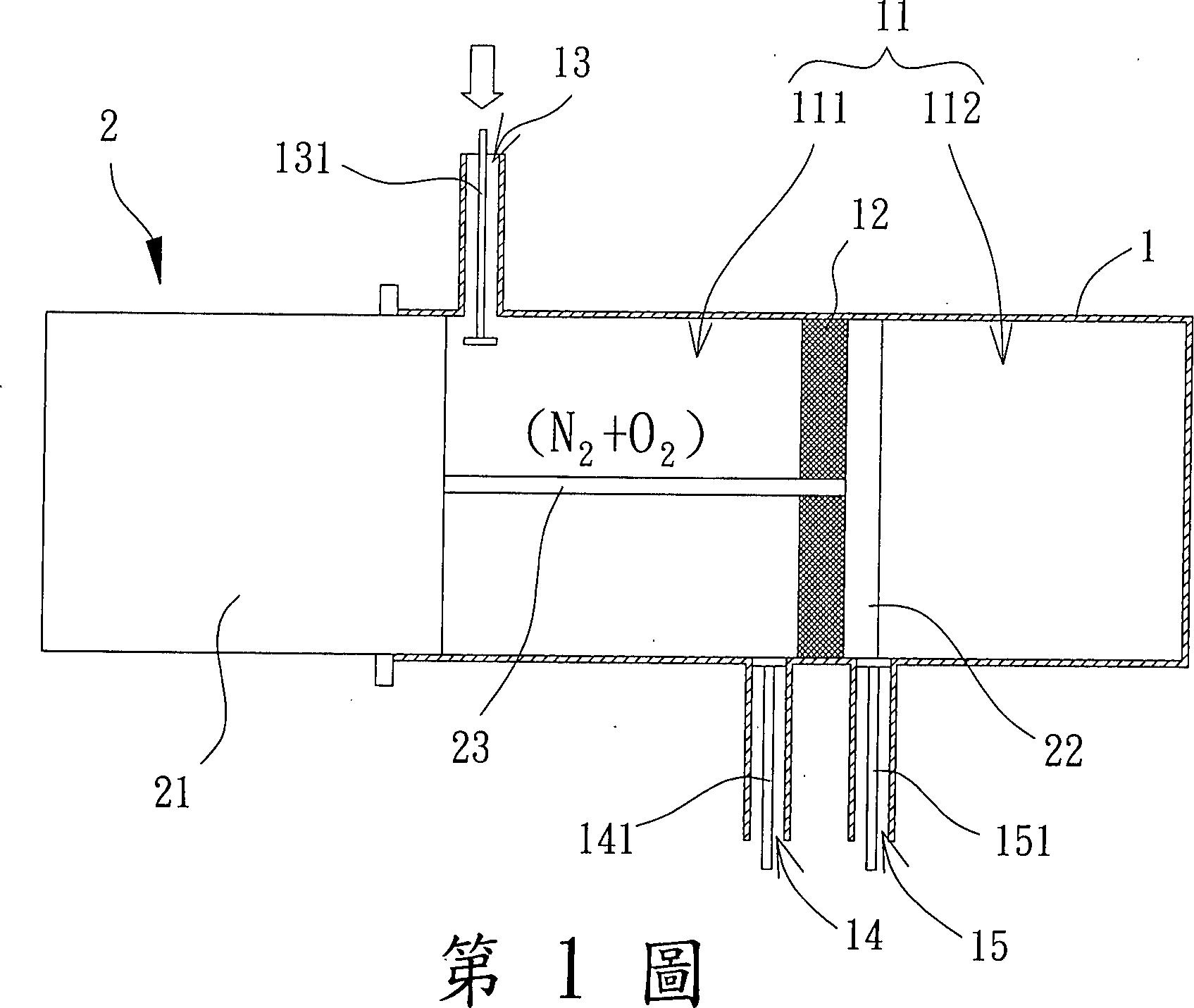
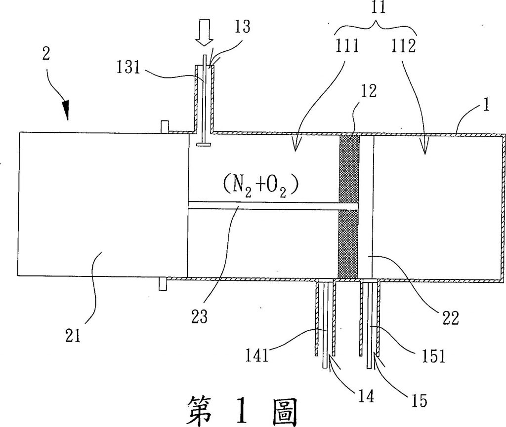
一種氧氣製造裝置,包含:一缸體及一塞體。該缸體係具有一容置空間,該容置空間內設有一分子篩,該分子篩係將該容置空間區分為一氮氣收集區及一氧氣收集區,該缸體另具有一入氣口、一第一出氣口及一第二出氣口,該入氣口及第一出氣口係連通於該氮氣收集區,該第二出氣口則連通於該氧氣收集區;該塞體係可移動的設置於該缸體之容置空間內,該塞體具有一第一部位及一第二部位,該第一部位係位於該氮氣收集區,而該第二部位則位於該氧氣收集區。

可應用範圍
(產業利用性)

照片/圖示

附件