專利名稱
磁流體發電裝置
專利證號
I448051
專利國別
中華民國
發明人代表
戴昌賢、羅四維、梁智創
專利技術摘要
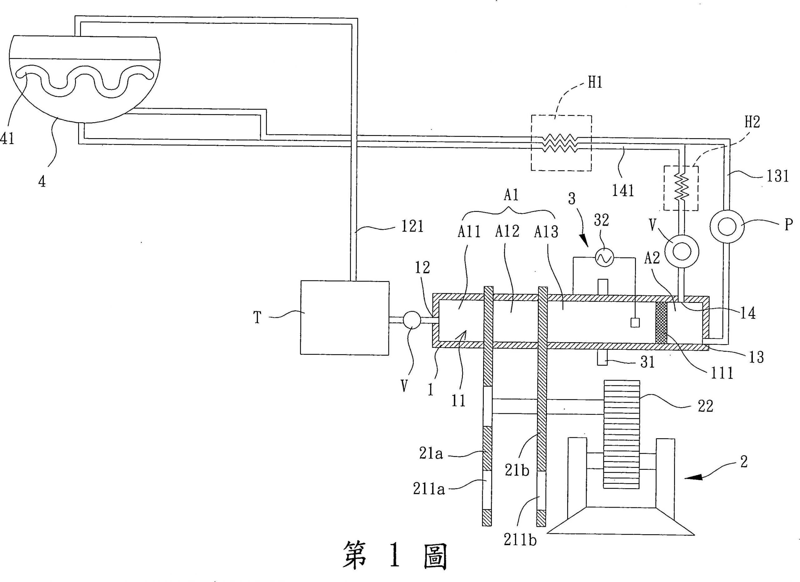
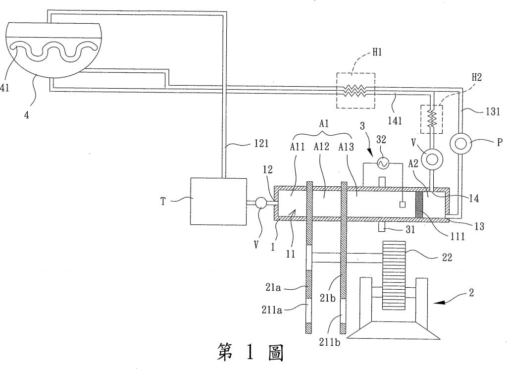
一種磁流體發電裝置,包含:一缸體,具有連通一容置空間的一氣體充填口及一排出口,該容置空間另設有一分子篩,該分子篩將該容置空間區分為一作動區及一回收區;一調控組件,具有一第一分隔體、一第二分隔體及一驅動件,該第一分隔體及第二分隔體係將該作動區分為一高壓氣體充填區、一高能震波生成區及一高能震波衝擊區,該高壓氣體充填區相鄰於該高能震波生成區之一側,並對應於該氣體充填口,該高能震波衝擊區則相鄰於該高能震波生成區之另一側,並位於該第二分隔體與分子篩之間,用以充填導磁粒子;及一產電組件,設置於該缸體之高能震波衝擊區,用以傳遞出導磁粒子流動時所生成之電能。