國立屏東科技大學
可移轉專利技術摘要

專利名稱

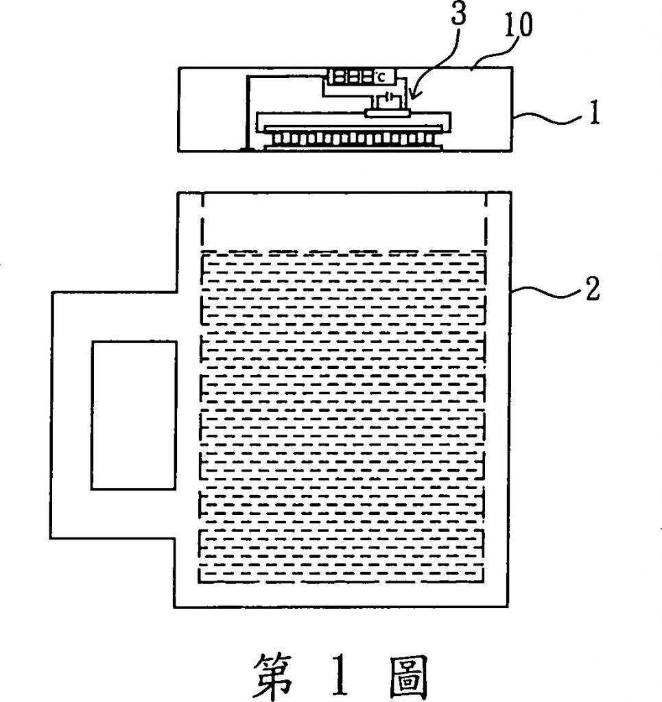
具有熱電元件的杯蓋構造

專利證號

I458667

專利國別

中華民國

專利類型

公告日

2014/11/01

發明人代表

曹龍泉

專利技術摘要

一種具有熱電元件的杯蓋構造,其係將一熱電元件內建於一杯蓋內,該熱電元件用來吸收一杯體內液體之熱能,以進行發電,並將電能用於偵測及顯示該杯體內之溫度,或後續用於致冷/致熱工作,因而有利於提升杯蓋類產品之功能性。

可應用範圍
(產業利用性)

照片/圖示

附件