專利名稱
即時電化學檢測晶片
專利證號
I458975
專利國別
中華民國
發明人代表
陳志堅
專利技術摘要
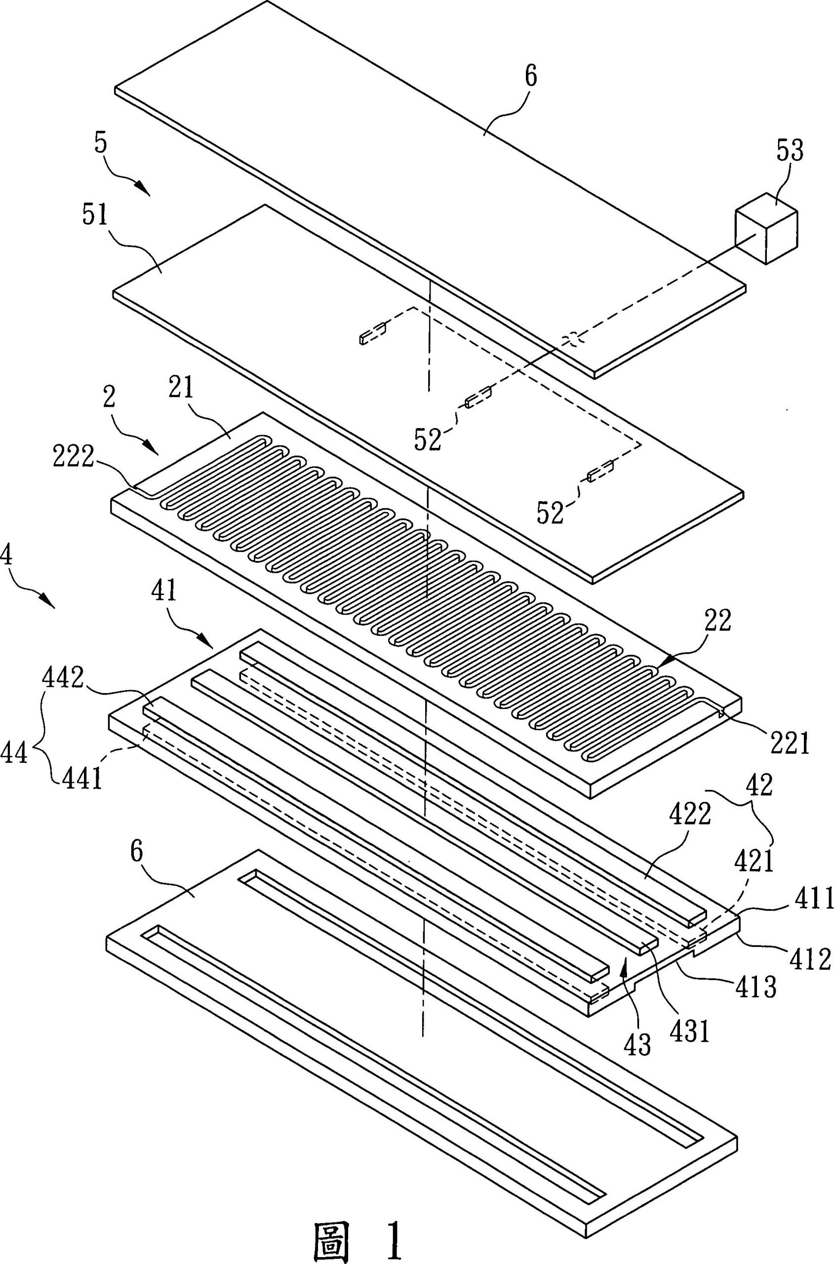
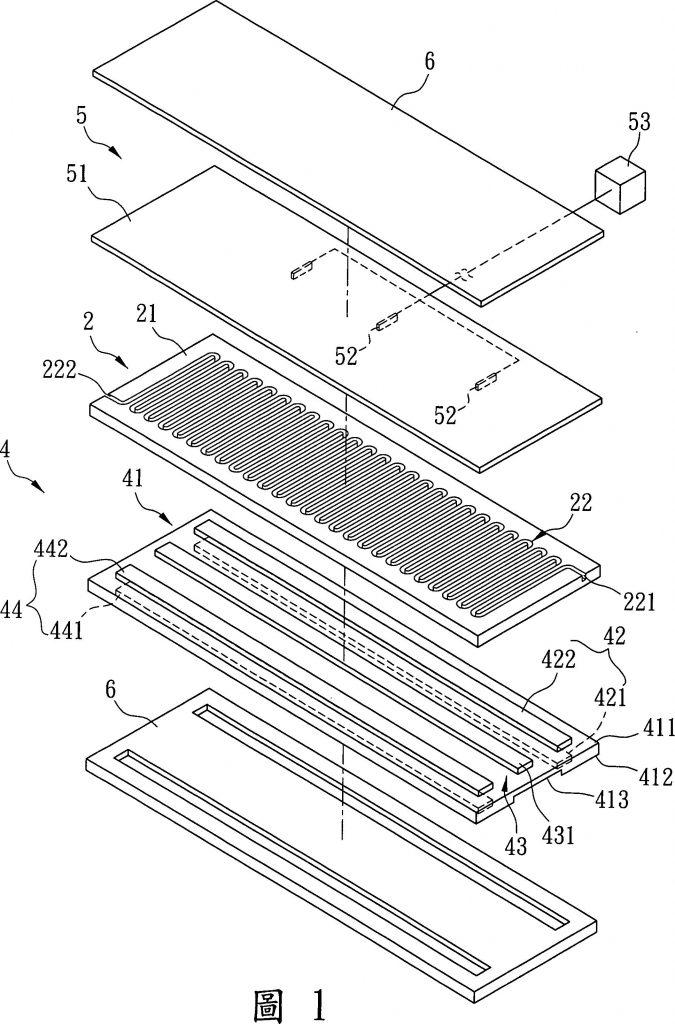
一種即時電化學檢測晶片,包含一反應裝置、一第一流速控制裝置、一加熱裝置,及一偵測裝置。該反應裝置包括一基板,及一形成於該基板上且重覆彎折延伸的流道,該流速控制裝置用以使檢體於該流道內移動。該加熱裝置包括位於該基板下方且互相間隔的第一至第三加熱單元,該流道是重覆橫跨於該第一至第三加熱單元上。該偵測裝置包括多數個伸置於流道內的電極,及多數個設置於電極上的探針。當檢體在流道內進行PCR時,檢體內經變性形成的單股DNA就能直接結合於探針上,而改變電極偵測到的電流值,藉此在實驗過程中快速且直接地獲得實驗結果。