專利名稱
微流體檢測裝置
專利證號
I460429
專利國別
中華民國
發明人代表
傅龍明、吳明昌、蔡建雄、林哲信
專利技術摘要
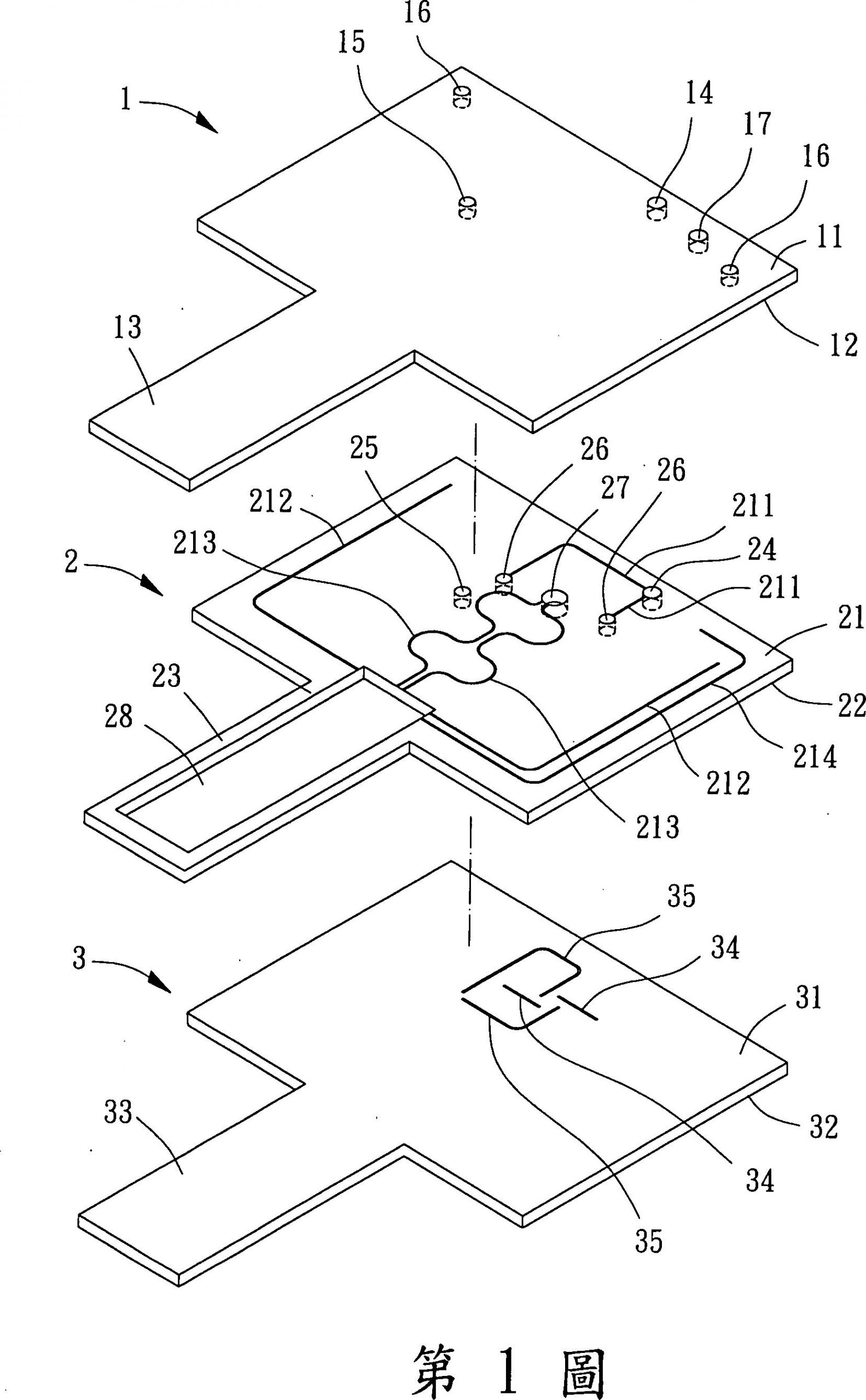
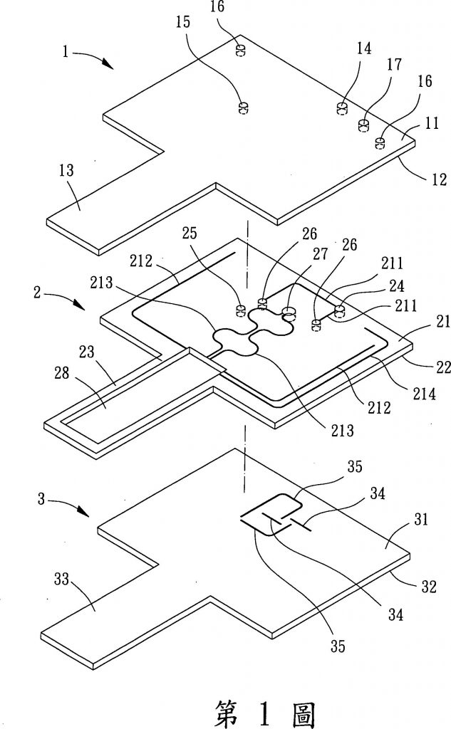
一種微流體檢測裝置,主要係由一進料層板、一混合層板及一匯流層板疊合所構成,該層板流體檢測裝置具有一凸出部,該進料層板包含一第一注入口、一第二注入口及一加料口,該混合層板包含一第一樣品口、一第二樣品口、至少一穿孔、一混合槽、一分析孔、至少一進料槽道、至少一反應槽道及一加料槽道,該匯流層板包含至少一第一樣品槽道及至少一第二樣品槽道。藉由分層的設計使注入樣品液間經由預定流通路徑進行混合、反應,及於反應完成之待測物會被收集於一分析孔,藉由分析待測物之吸收光譜來做假酒之定性與定量的分析。該微流體檢測裝置可將待測物樣品的反應裝置與後段之成分分析樣品槽結合,進而使樣品檢測具一貫性,達成加快反應效率、有效減少樣品污染及簡化設備之功效。