專利名稱
燃料電池裝置
專利證號
I462383
專利國別
中華民國
發明人代表
戴昌賢、羅四維、苗志銘、蔡建雄
專利技術摘要
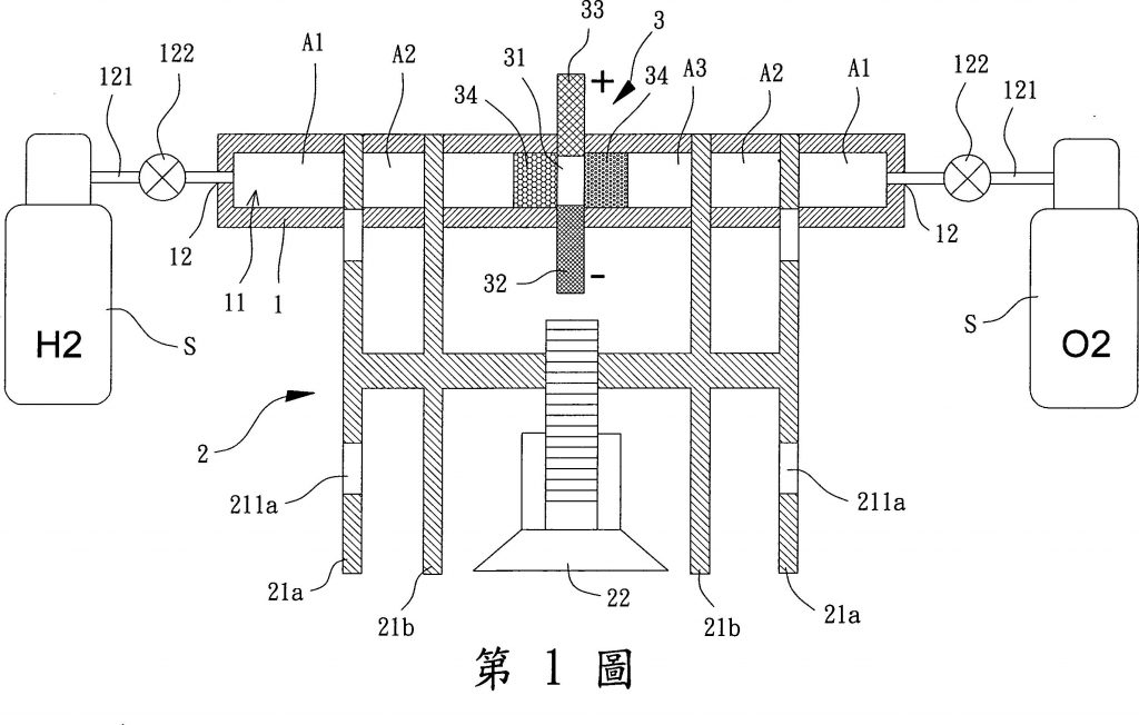
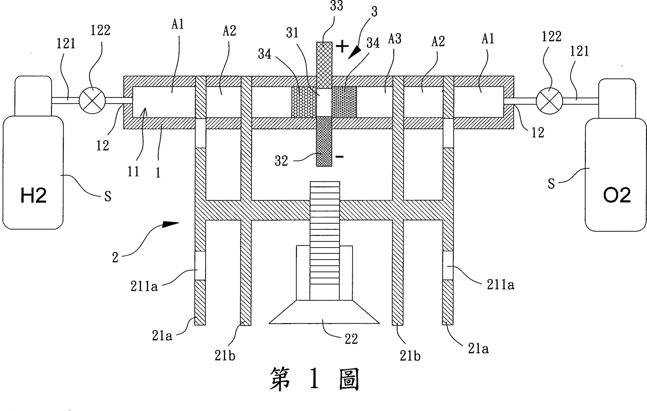
一種燃料電池裝置,包含:一缸體,具有連通一容置空間的二充填口;一調控組件,具有二第一分隔體、二第二分隔體及一驅動件,該二第二分隔體位於該二第一分隔體之間且共同設置於該容置空間,以將該容置空間區分為二高壓充填區、二高能震波生成區及一衝擊區,該衝擊區位於該二第二分隔體之間,各該高能震波生成區分別位於各該第一分隔體與各該第二分隔體之間,各該高壓充填區相鄰於各該高能震波生成區且分別與各該充填口連通,該驅動件用以帶動該二第一分隔體及該二第二分隔體,以控制該二高壓充填區、二高能震波生成區及衝擊區之連通;及一燃料電池組,設置於該容置空間之衝擊區。