國立屏東科技大學
可移轉專利技術摘要

專利名稱

水力發電裝置

專利證號

I468586

專利國別

中華民國

專利類型

公告日

2015/01/11

發明人代表

戴昌賢、詹芳彬、苗志銘

專利技術摘要

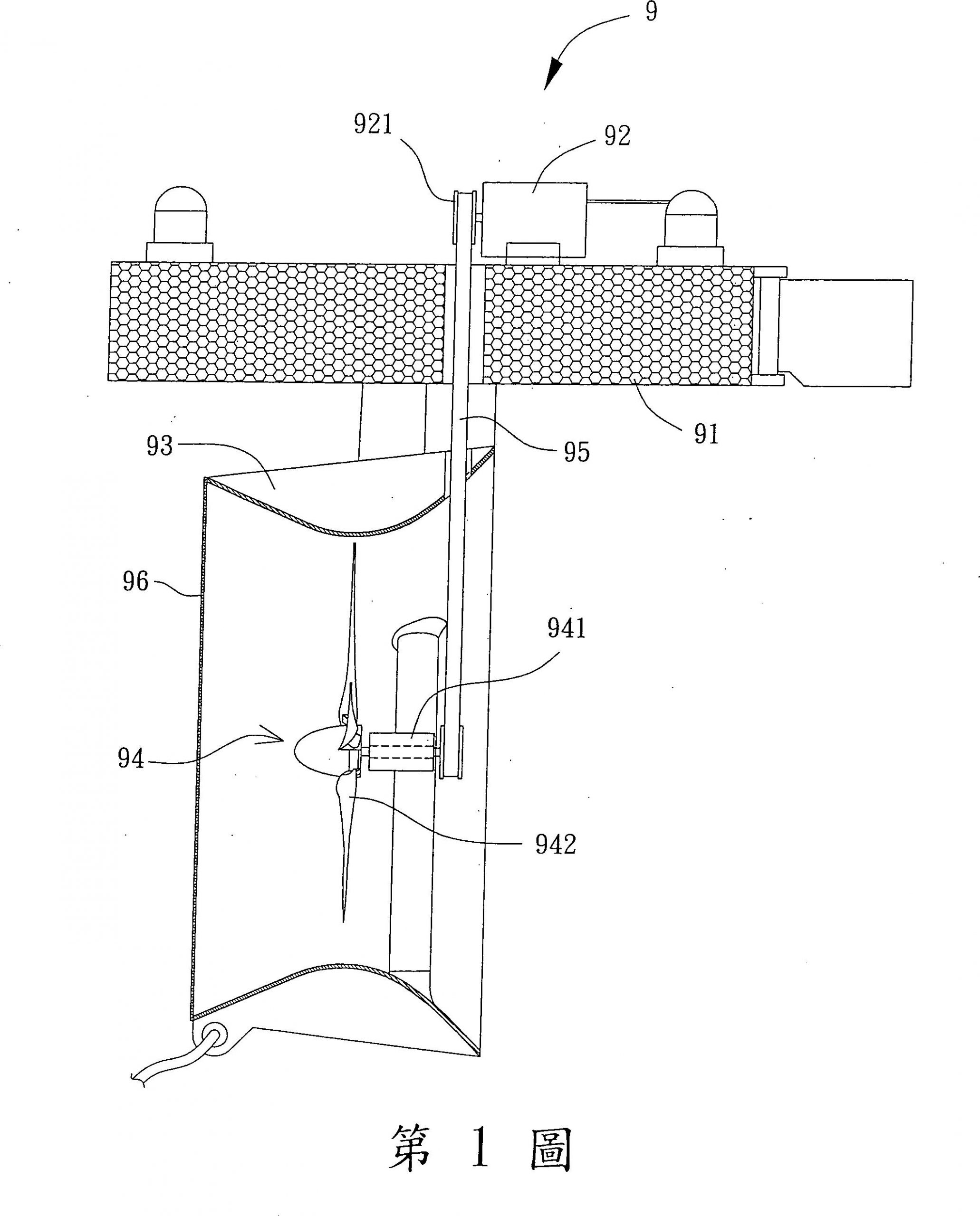
一種水力發電裝置,係包含:一殼罩,內部設有一流道及一濾件,該流道之二端分別形成一入口端及一出口端,且該入口端及出口端之間設有一縮徑部,該流道由該入口端及出口端向該縮徑部漸縮內徑,該殼罩對應於該入口端處形成一斜面,且該殼罩底部對應於該入口端至出口端之最短長度大於該殼罩頂部對應於該入口端至出口端之最短長度,該濾件結合於該斜面並封閉該入口端;及一個或偶數個水力渦輪機,設於該流道中,以透過水流驅動而產生電能。

可應用範圍
(產業利用性)

照片/圖示

附件