國立屏東科技大學
可移轉專利技術摘要

專利名稱

核酸檢測系統及其使用方法

專利證號

I901561

專利國別

中華民國

專利類型

公告日

2025/10/11

發明人代表

陳志堅

專利技術摘要

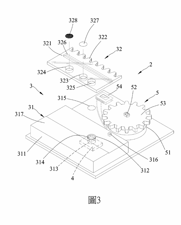
本發明揭示一種核酸檢測系統,並包含反應裝置、加熱裝置,以及動力裝置。該反應裝置包括檢測單元與可滑動地設置於該檢測單元上方的移動單元。該檢測單元含有反應槽、設置於該反應槽中的去離子水、阻隔該去離子水之液面的熱熔性隔離件,以及放置在該熱熔性隔離件上的採樣試紙,該加熱裝置可加熱熔解該熱熔性隔離件使得在其上方的物體掉落到去離子水中。該移動單元含有傳動件、第一穿孔,以及放置在第一穿孔中的LAMP試紙,該動力裝置可藉由帶動該傳動件來改變該移動單元的位置,而使該反應槽與第一穿孔連通導致該LAMP試紙掉落到該反應槽中。

可應用範圍
(產業利用性)

本發明是有關於一種核酸檢測系統,以及使用該核酸檢測系統的方法。

照片/圖示

附件