國立屏東科技大學
可移轉專利技術摘要

專利名稱

油脂替代品製法、油皮製法及油脂檢測方法

專利證號

I907139

專利國別

中華民國

專利類型

公告日

2025/12/01

發明人代表

詹國靖、陳姵吟

專利技術摘要

本發明係一種油脂替代品的製備方法,包含:將蜂蠟與植物油依據7~15:85~93的一重量比例進行混合,然後在一預定溫度以及一預定時間下持續加熱攪拌,直到該蜂蠟完全溶解在該植物油中而形成一混合液,接著將該混合液放置於室溫下形成凝膠塊,而得到油脂替代品。

可應用範圍
(產業利用性)

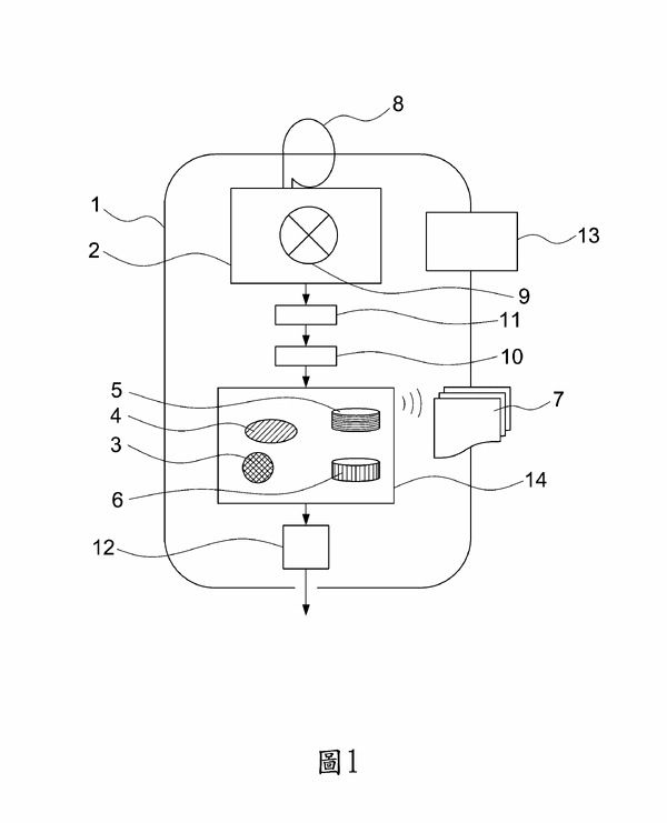
1.一種油皮的製備方法,包含: 將蜂蠟與植物油依據7~15:85~93的一重量比例進行混合,然後在一預定溫度以及一預定時間下持續加熱攪拌,直到該蜂蠟完全溶解在該植物油中而形成一混合液,接著將該混合液放置於室溫下形成凝膠塊,而得到油脂替代品; 將中筋麵粉、糖粉、該油脂替代品、酪蛋白膠束及水依100:4:30~40:1~6:40的一重量百分比持續攪拌至完全混合,而得一生麵糰塊;以及 將該生麵糰塊分切並成型為複數個油皮; 其中,該植物油為紅花籽油,該預定溫度為80~100℃,該預定時間為20~50分鐘。 2.一種油脂氧化穩定性的檢測方法,包含: 提供如請求項1所述之油皮作為一檢測物; 將該檢測物放入一加熱器中進行加熱,並在該加熱器的出風口處放置一檢測器,以檢測該檢測物於加熱期間所產生的總揮發性有機化合物,其中,於該加熱期間內記錄下特定時間點所檢測到之該總揮發性有機化合物的數值,並將該數值藉由濃度-時間曲線下面積(AUC)進行加總; 其中,加熱溫度係為180-200℃,加熱時間為10-60分鐘。

照片/圖示

附件