跳到主要內容
  • 回首頁
  • 聯絡我們
  • 研究發展處
  • 國立屏東科技大學
  • 中心簡介
    • 成員執掌
  • 專利資訊
    • 本校專利資訊管理
    • 本校專利資訊
    • 專利事務所訊息
    • 專利清冊
    • 登入
  • 表單下載
  • 專利讓與公告
  • 研習活動報名
  • 宣導專區
  • 相關法規
    • 本校相關法規
    • 政府法規
    • 智慧財產相關連結

專利分類: 發明

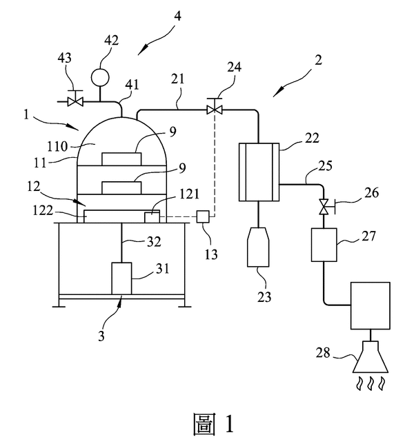
動力源異常檢測方法及其系統

換向式破壞工具

油脂替代品製法、油皮製法及油脂檢測方法

利用葉片氮濃度施肥之水稻栽培管理系統及其方法

智慧型沐浴監控系統

嵌合型抗原及含此的豬用次單位疫苗組成物

鹼激發爐石混凝土

具有評估心理壓力的運動訓練偵測系統

果園施肥裝置

文章導覽

Older Posts Older Posts
Newer Posts Newer Posts
聯絡資訊
  • 地址:91201屏東縣內埔鄉學府路1號(行政大樓4樓)
  • 電話:08-7703202轉6281、6282、6283
  • 傳真:08-7740158
  • Copyright © 2023 國立屏東科技大學技轉中心 版權所有