國立屏東科技大學
可移轉專利技術摘要

專利名稱

菱角剝殼輔助裝置

專利證號

I912086

專利國別

中華民國

專利類型

公告日

2026/01/11

發明人代表

洪芝青、利嘉、陳建勳、徐弘力、陳郁欣

專利技術摘要

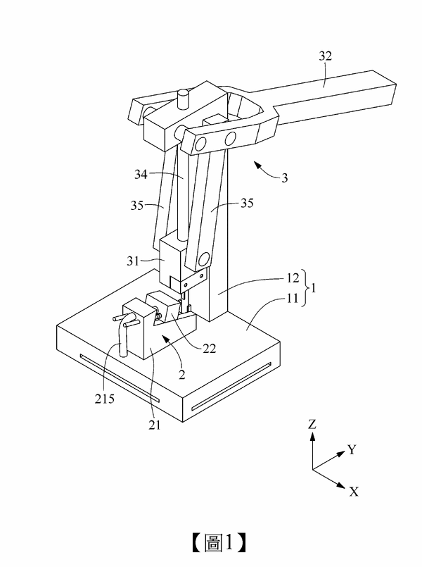
一種菱角剝殼輔助裝置,用以解決以往菱角剝殼不易的問題。本發明的菱角剝殼輔助裝置包含:一基座,包括一底座及一立架;一菱角架設台,包括一工作台及一夾固器,該工作台固設於該底座,該工作台具有一鑿刺空間鄰接一抵持部,該夾固器適於彈性抵接一菱角外殼,並將該菱角外殼夾固於該夾固器與該抵持部之間,且該菱角外殼至少有局部對位於該鑿刺空間;及一鑿刺模組,包括一刀座及一手柄,該刀座適於組裝一鑿刺刀,該手柄樞接於該立架,並可連動該刀座朝該工作台的鑿刺空間靠近或遠離。

可應用範圍
(產業利用性)

本發明提供一種菱角剝殼輔助裝置,可易於操作且快速省力地對菱角外殼進行破壁,以利工作者接續手工取出菱角仁。 本發明全文所述方向性或其近似用語,例如「前」、「後」、「左」、「右」、「上(頂)」、「下(底)」、「內」、「外」、「側面」等,主要係參考附加圖式的方向,各方向性或其近似用語僅用以輔助說明及理解本發明的各實施例,非用以限制本發明。 本發明全文所記載的元件及構件使用「一」或「一個」之量詞,僅是為了方便使用且提供本發明範圍的通常意義;於本發明中應被解讀為包括一個或至少一個,且單一的概念也包括複數的情況,除非其明顯意指其他意思。 本發明全文所述「結合」、「組合」或「組裝」等近似用語,主要包含連接後仍可不破壞構件地分離,或是連接後使構件不可分離等型態,係本領域中具有通常知識者可以依據欲相連之構件材質或組裝需求予以選擇者。 為達上述目的及其他目的,本發明提供一種菱角剝殼輔助裝置,包含:一基座,包括一底座及一立架;一菱角架設台,包括一工作台及一夾固器,該工作台固設於該底座,該工作台具有一鑿刺空間鄰接一抵持部,該夾固器適於彈性抵接一菱角外殼,並將該菱角外殼夾固於該夾固器與該抵持部之間,且該菱角外殼至少有局部對位於該鑿刺空間;及一鑿刺模組,包括一刀座及一手柄,該刀座適於組裝一鑿刺刀,該手柄樞接於該立架,並可連動該刀座朝該工作台的鑿刺空間靠近或遠離。 上述的菱角剝殼輔助裝置中,該夾固器可以具有朝向該抵持部的一凹弧面,該夾固器可以由該凹弧面抵接該菱角外殼。 上述的菱角剝殼輔助裝置中,該夾固器可以具有一擋片位於該凹弧面上方,該菱角外殼至少有局部位於該擋片的下方。 上述的菱角剝殼輔助裝置中,該工作台可以具有一擺放面及一安裝部,該擺放面適於供放置該菱角外殼,該夾固器可以安裝於該安裝部,且該夾固器可沿該擺放面位移,以朝該抵持部靠近或遠離;該擺放面可以呈傾斜狀,該抵持部位於該擺放面的低處。 上述的菱角剝殼輔助裝置中,該安裝部可以設有一冷風管,該冷風管適於朝位在該夾固器與該抵持部之間的菱角外殼吹送低溫氣體。 上述的菱角剝殼輔助裝置中,該抵持部與該安裝部可分別位於該工作台的兩端,該抵持部及該安裝部均可凸出於該擺放面,該夾固器可以與二第一導桿相接,並由該二第一導桿穿設於該安裝部,該菱角架設台另可以包括至少一彈性件,該彈性件套於該第一導桿,該彈性件的二端抵接該夾固器與該安裝部。 上述的菱角剝殼輔助裝置中,該工作台可以具有一端面鄰接一擺放面,該抵持部可以凸出於該擺放面並鄰於該端面,該鑿刺空間可以是凹陷於該端面並連通至該擺放面的凹槽。 上述的菱角剝殼輔助裝置中,該工作台可以具有一下凹部,該下凹部由該擺放面下凹,且該下凹部延伸至與該鑿刺空間相連通。 上述的菱角剝殼輔助裝置中,該鑿刺模組另可以包括一第二導桿及二連動桿,該第二導桿可以連接該刀座並穿設於該立架,該手柄的一端可以形成U字形,該手柄可以由該U字形部位樞接於該立架,該二連動桿分別位於該立架的兩側,該二連動桿的一端均可與該手柄的U字形部位相串接,該二連動桿的另一端均可與該刀座相串接。 上述的菱角剝殼輔助裝置另可以包含一微控制器單元及一警示器,該刀座可以設有一壓力感測器,該壓力感測器適於感測該鑿刺刀施於該菱角外殼的壓力,該微控制器單元電性連接該壓力感測器及該警示器,以接收該壓力感測器的量測值,並於該量測值低於一閾值時,控制該警示器發出警示。 據此,本發明的菱角剝殼輔助裝置,可易於操作且快速省力地對菱角外殼進行破壁,以利工作者接續手工取出菱角仁;除了兼具提升菱角仁產量及降低工作者職業傷害等功效外,還有助於提高年輕農民投入耕植菱角田的意願,並藉由維持菱角種植面積,提供保育類動物良好且足夠的生存環境,創造生態永續與經濟永續的雙贏與共好局面。

照片/圖示

附件