跳到主要內容
  • 回首頁
  • 聯絡我們
  • 研究發展處
  • 國立屏東科技大學
  • 中心簡介
    • 成員執掌
  • 專利資訊
    • 本校專利資訊管理
    • 本校專利資訊
    • 專利事務所訊息
    • 專利清冊
    • 登入
  • 表單下載
  • 專利讓與公告
  • 研習活動報名
  • 宣導專區
  • 相關法規
    • 本校相關法規
    • 政府法規
    • 智慧財產相關連結

專利分類: 發明

太陽能電池板之製作方法及其結構

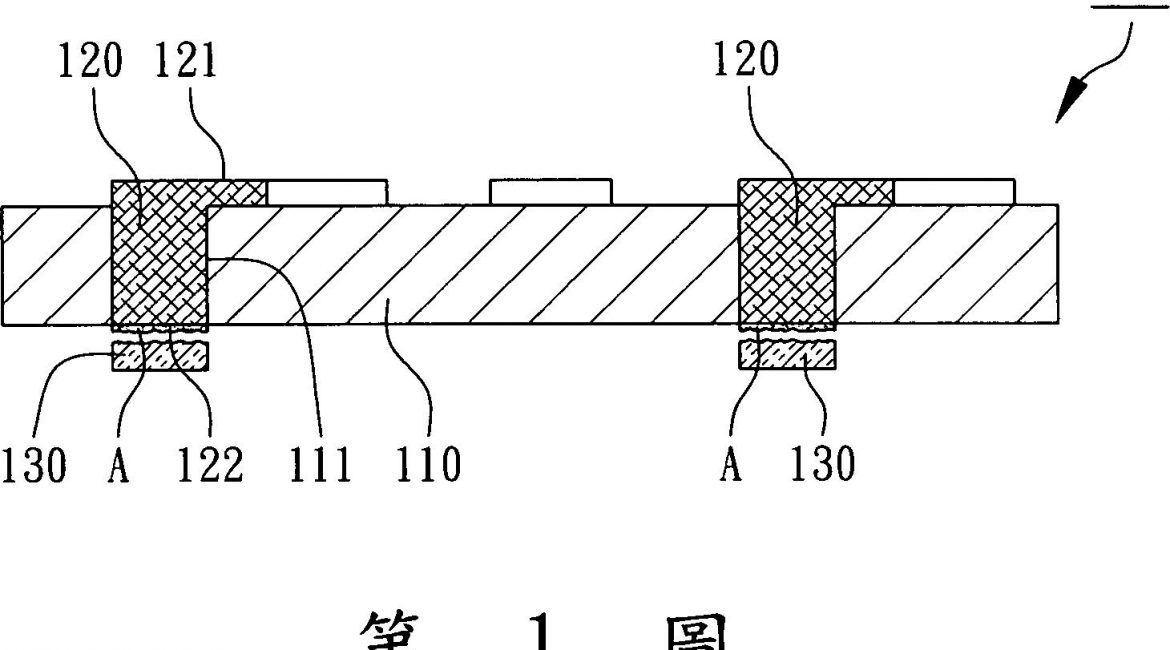
基板結構

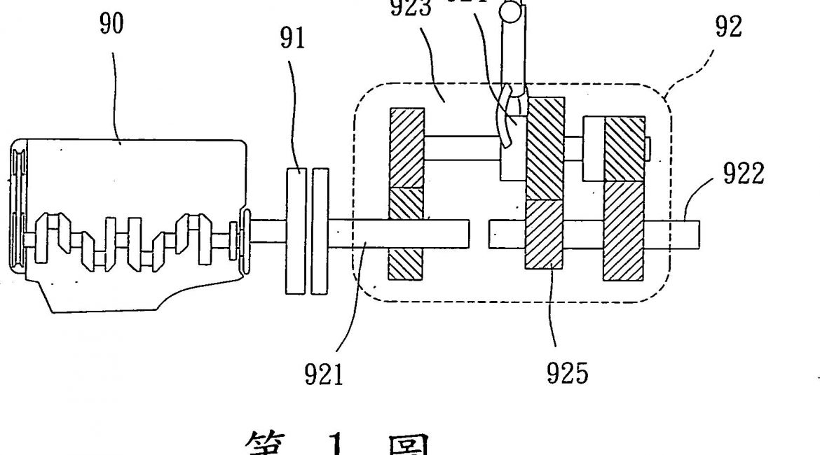
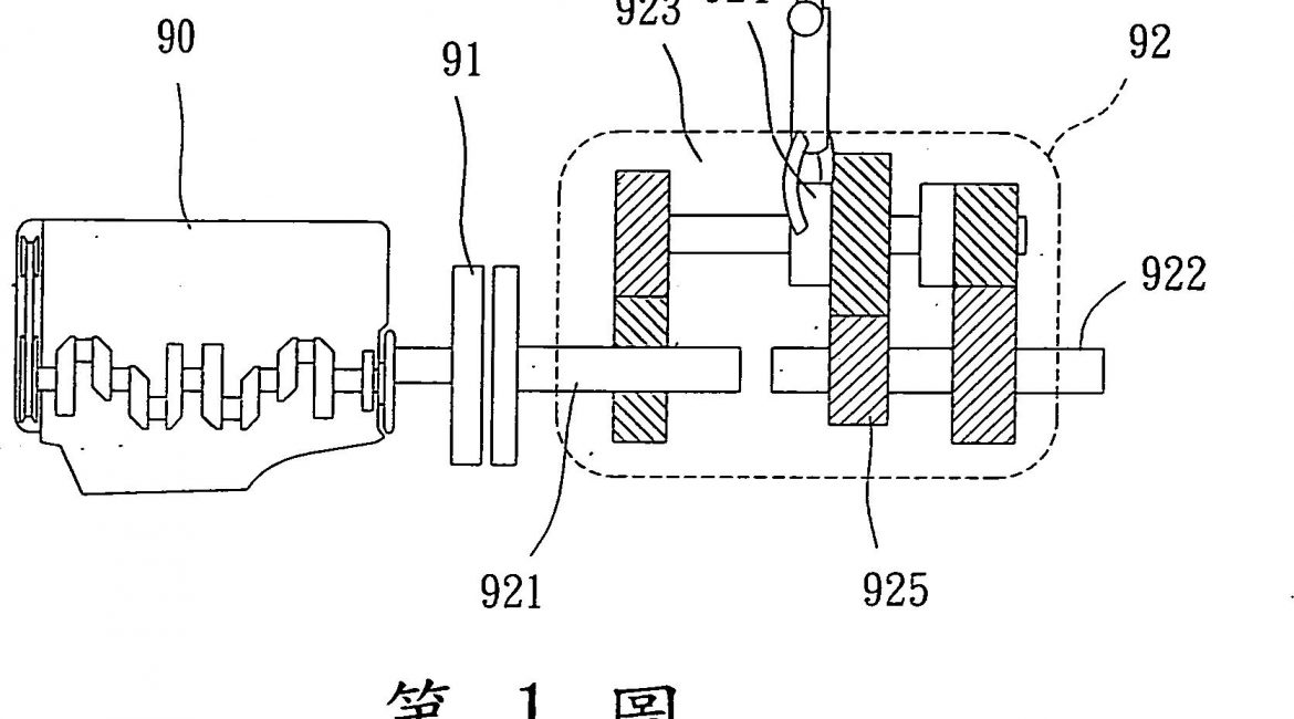
電動車之手排變速箱

資訊隱藏方法

摩擦攪拌裝置

一種鑑別白色果肉番石榴之方法

一種鑑別具硬熟非更年性果實番石榴基因型之方法及該方法所使用之引子對

電弧銲接控制方法

泛用型桿狀病毒表面呈現系統及其應用於次單位疫苗之製備

文章導覽

Older Posts Older Posts
Newer Posts Newer Posts
聯絡資訊
  • 地址:91201屏東縣內埔鄉學府路1號(行政大樓4樓)
  • 電話:08-7703202轉6281、6282、6283
  • 傳真:08-7740158
  • Copyright © 2023 國立屏東科技大學技轉中心 版權所有