跳到主要內容
  • 回首頁
  • 聯絡我們
  • 研究發展處
  • 國立屏東科技大學
  • 中心簡介
    • 成員執掌
  • 專利資訊
    • 本校專利資訊管理
    • 本校專利資訊
    • 專利事務所訊息
    • 專利清冊
    • 登入
  • 表單下載
  • 專利讓與公告
  • 研習活動報名
  • 宣導專區
  • 相關法規
    • 本校相關法規
    • 政府法規
    • 智慧財產相關連結

專利分類: 發明

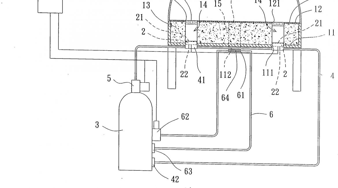
植物環控裝置

具有氣體導流通道之機車

太陽能反應爐之集熱裝置

漁獲自動攝影量測系統

資料分群方法

應用三軸加速規之跌倒偵測方法

球根花卉之水耕栽培方法及其裝置

可發光衣架

固態甜菜色素穩定之方法

文章導覽

Older Posts Older Posts
Newer Posts Newer Posts
聯絡資訊
  • 地址:91201屏東縣內埔鄉學府路1號(行政大樓4樓)
  • 電話:08-7703202轉6281、6282、6283
  • 傳真:08-7740158
  • Copyright © 2023 國立屏東科技大學技轉中心 版權所有