跳到主要內容
  • 回首頁
  • 聯絡我們
  • 研究發展處
  • 國立屏東科技大學
  • 中心簡介
    • 成員執掌
  • 專利資訊
    • 本校專利資訊管理
    • 本校專利資訊
    • 專利事務所訊息
    • 專利清冊
    • 登入
  • 表單下載
  • 專利讓與公告
  • 研習活動報名
  • 宣導專區
  • 相關法規
    • 本校相關法規
    • 政府法規
    • 智慧財產相關連結

專利分類: 發明

半導體封裝元件之檢測機構

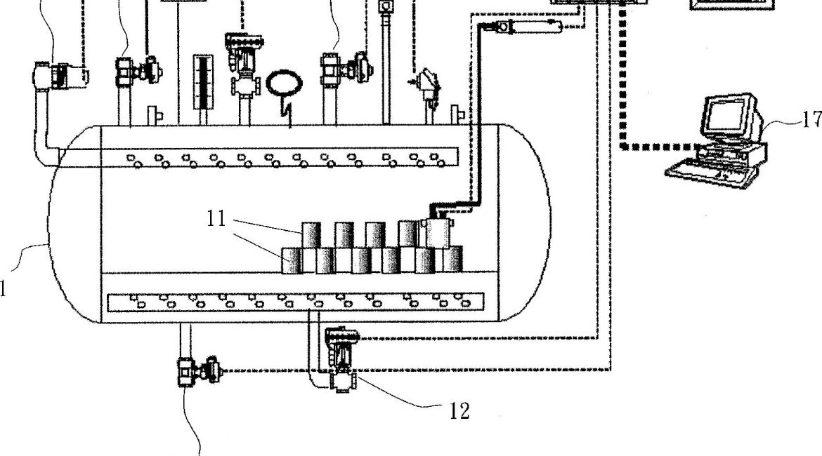
以基本功能之可程式控制器(PLC)進行罐裝食品模糊控制殺菌及F0値線上計算及預測之方法

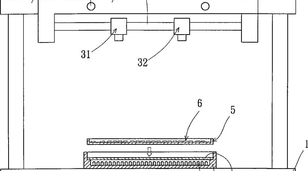
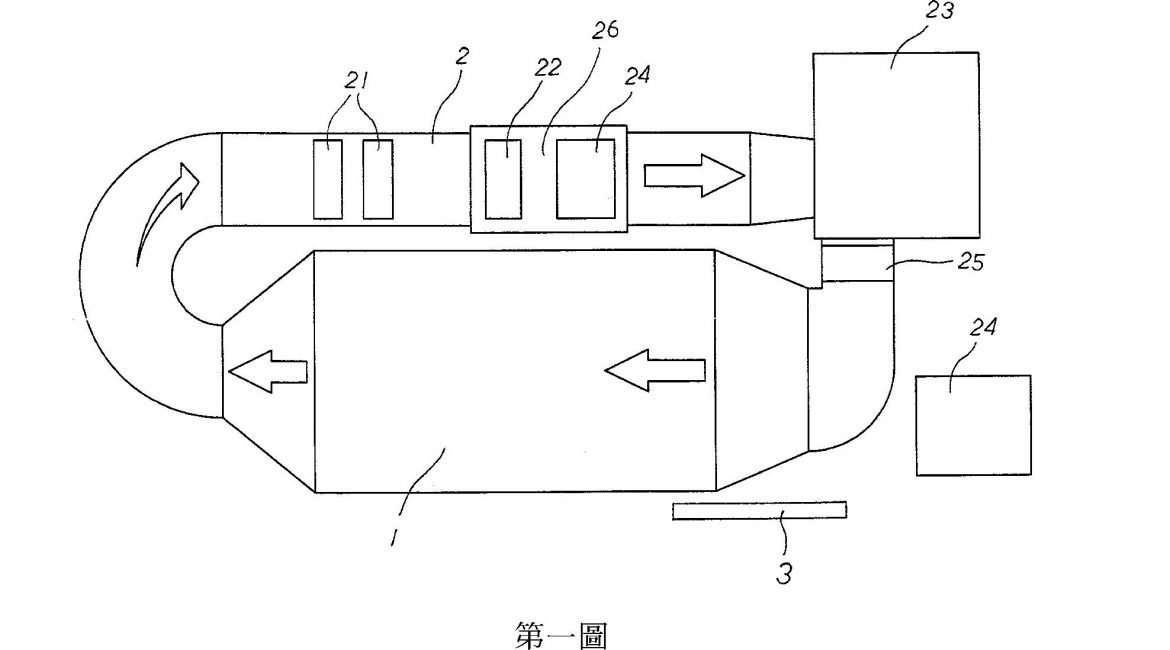
快速乾燥及殺菌處理系統及其方法

封裝體表面翹曲値之快速檢測方法

應用半胱胺酸奈米薄膜偵測揮發性醛類

魚苗計數機

行動化土石流災情預防與通報系統

可收集太陽熱能之多用途密閉循環乾燥機

小物件光學檢測裝置

文章導覽

Older Posts Older Posts
Newer Posts Newer Posts
聯絡資訊
  • 地址:91201屏東縣內埔鄉學府路1號(行政大樓4樓)
  • 電話:08-7703202轉6281、6282、6283
  • 傳真:08-7740158
  • Copyright © 2023 國立屏東科技大學技轉中心 版權所有