跳到主要內容
  • 回首頁
  • 聯絡我們
  • 研究發展處
  • 國立屏東科技大學
  • 中心簡介
    • 成員執掌
  • 專利資訊
    • 本校專利資訊管理
    • 本校專利資訊
    • 專利事務所訊息
    • 專利清冊
    • 登入
  • 表單下載
  • 專利讓與公告
  • 研習活動報名
  • 宣導專區
  • 相關法規
    • 本校相關法規
    • 政府法規
    • 智慧財產相關連結

專利分類: 發明

群集式車載網路下感測網觀測服務方法

一種篩選自苦瓜籽蛋白之具降血壓活性胜肽及其製備方法

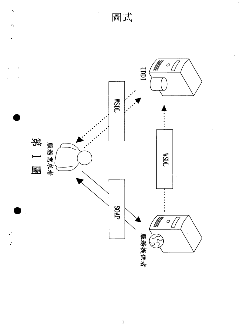
雲端服務之負載平衡方法

抗豬環狀病毒第二型病毒感染之重組抗原基因、重組抗原蛋白及含彼之次單位疫苗組成物

微流體蒸氣蒸餾晶片

一種香蕉皮萃取物用於製備提升蝦類免疫力藥物之用途

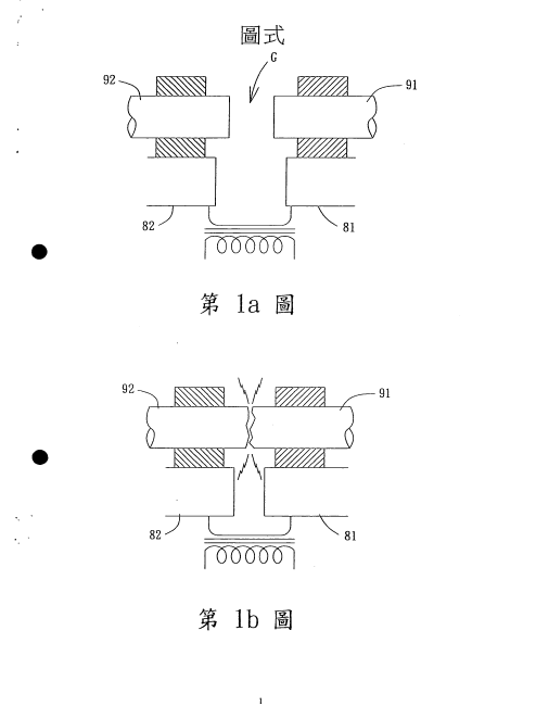
改良式閃光銲接方法

一種經分離之β-葡萄糖苷酶核苷酸序列及表現該β-葡萄糖苷酶核苷酸序列之重組載體

風力發電裝置

文章導覽

Older Posts Older Posts
Newer Posts Newer Posts
聯絡資訊
  • 地址:91201屏東縣內埔鄉學府路1號(行政大樓4樓)
  • 電話:08-7703202轉6281、6282、6283
  • 傳真:08-7740158
  • Copyright © 2023 國立屏東科技大學技轉中心 版權所有