跳到主要內容
  • 回首頁
  • 聯絡我們
  • 研究發展處
  • 國立屏東科技大學
  • 中心簡介
    • 成員執掌
  • 專利資訊
    • 本校專利資訊管理
    • 本校專利資訊
    • 專利事務所訊息
    • 專利清冊
    • 登入
  • 表單下載
  • 專利讓與公告
  • 研習活動報名
  • 宣導專區
  • 相關法規
    • 本校相關法規
    • 政府法規
    • 智慧財產相關連結

專利分類: 發明

薄膜電阻合金

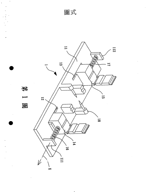
光纖熔拉裝置

利用單核酸多型性標記組合鑑別豬隻對佐劑之免疫反應的方法及其應用

利用單核酸多型性標記組合鑑別豬隻免疫特性的方法及其應用

乾式石墨烯氧化物製備方法

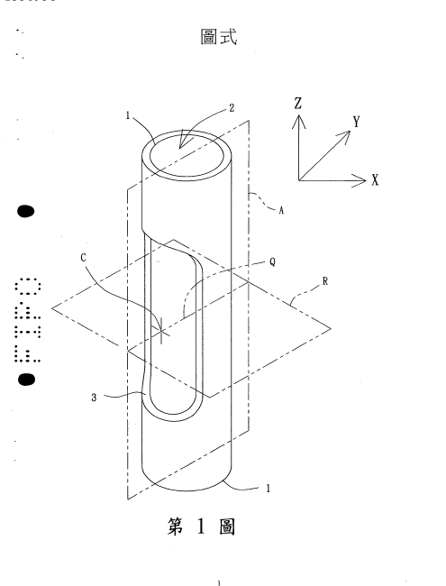
具簡諧倍頻音之圓管、該圓管的設計方法及具有圓管的擊樂器

具簡諧倍頻音之音板的設計方法及具有音板之擊樂器

一種經分離之β-葡萄糖苷酶核苷酸序列及表現該β-葡萄糖苷酶核苷酸序列之重組載體

藻類附苗架構造及其操作方法

文章導覽

Older Posts Older Posts
Newer Posts Newer Posts
聯絡資訊
  • 地址:91201屏東縣內埔鄉學府路1號(行政大樓4樓)
  • 電話:08-7703202轉6281、6282、6283
  • 傳真:08-7740158
  • Copyright © 2023 國立屏東科技大學技轉中心 版權所有