專利名稱
更換式輾合輥輪裝置
專利證號
I341250
專利國別
中華民國
發明人代表
陳念慈、陳政雄
專利技術摘要
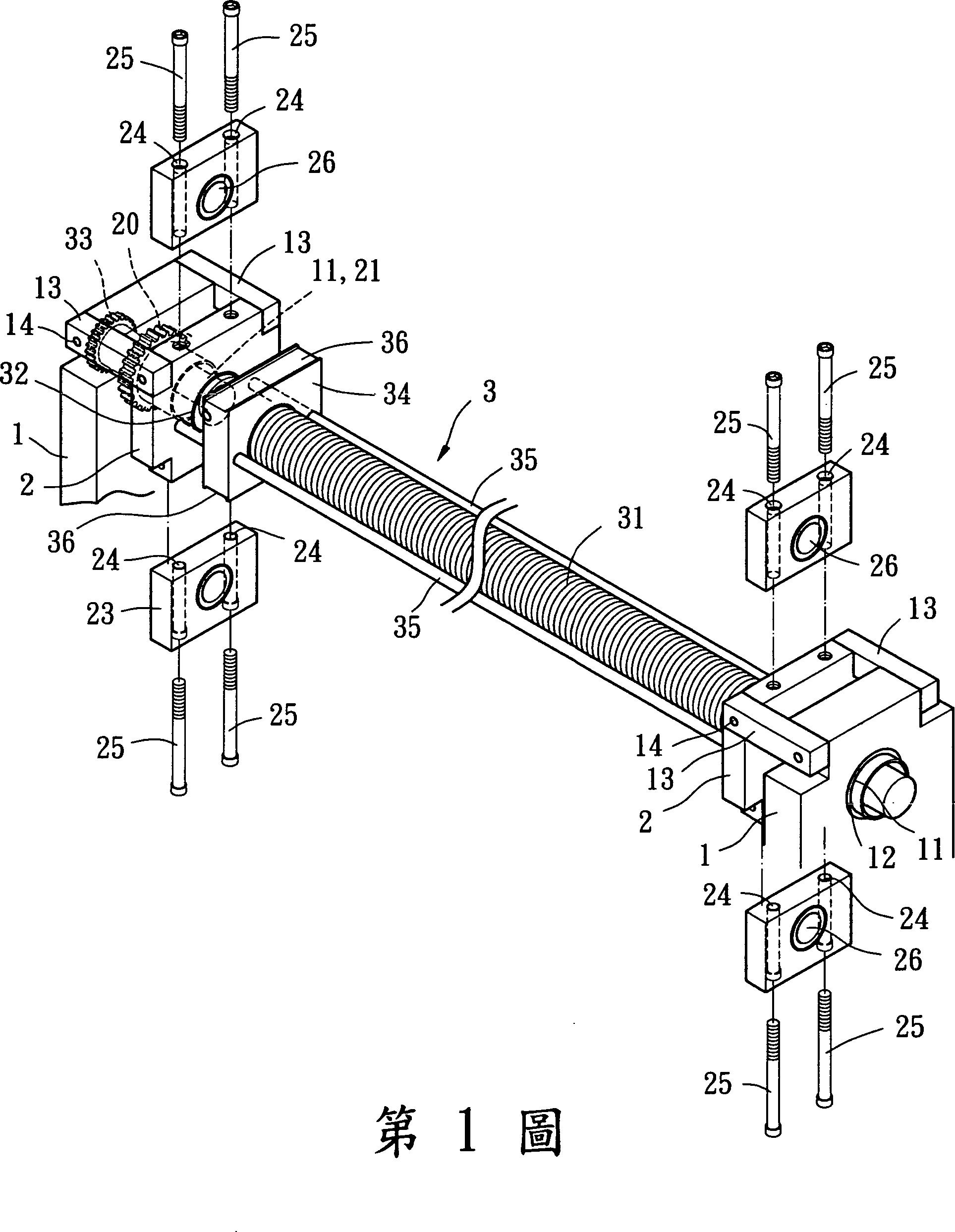
一種更換式輾合輥輪裝置,係由二機架壁上各設有軸孔,該二軸孔各供一交換座成可旋轉之樞接,該二交換座各分別在二相對之邊上,各延接一可以與交換座相組接或分離之更換座,該二更換座各設有一組配孔,以供輾合輥輪成可活動之組設在該二更換座之組配孔。該二交換座之間更可以設一軸桿,該軸桿上有一可以對該軸桿作軸向移動之滑動座,該滑動座可以支撐該輾合輥輪,藉由該滑動座可以對該軸桿作軸向移動,以便移動更換該輾合輥輪。