跳到主要內容
回首頁
聯絡我們
研究發展處
國立屏東科技大學
中心簡介
成員執掌
專利資訊
本校專利資訊管理
本校專利資訊
專利事務所訊息
專利清冊
登入
表單下載
專利讓與公告
研習活動報名
宣導專區
相關法規
本校相關法規
政府法規
智慧財產相關連結
國立屏東科技大學
可移轉專利技術摘要
回列表
🖨 列印
專利名稱
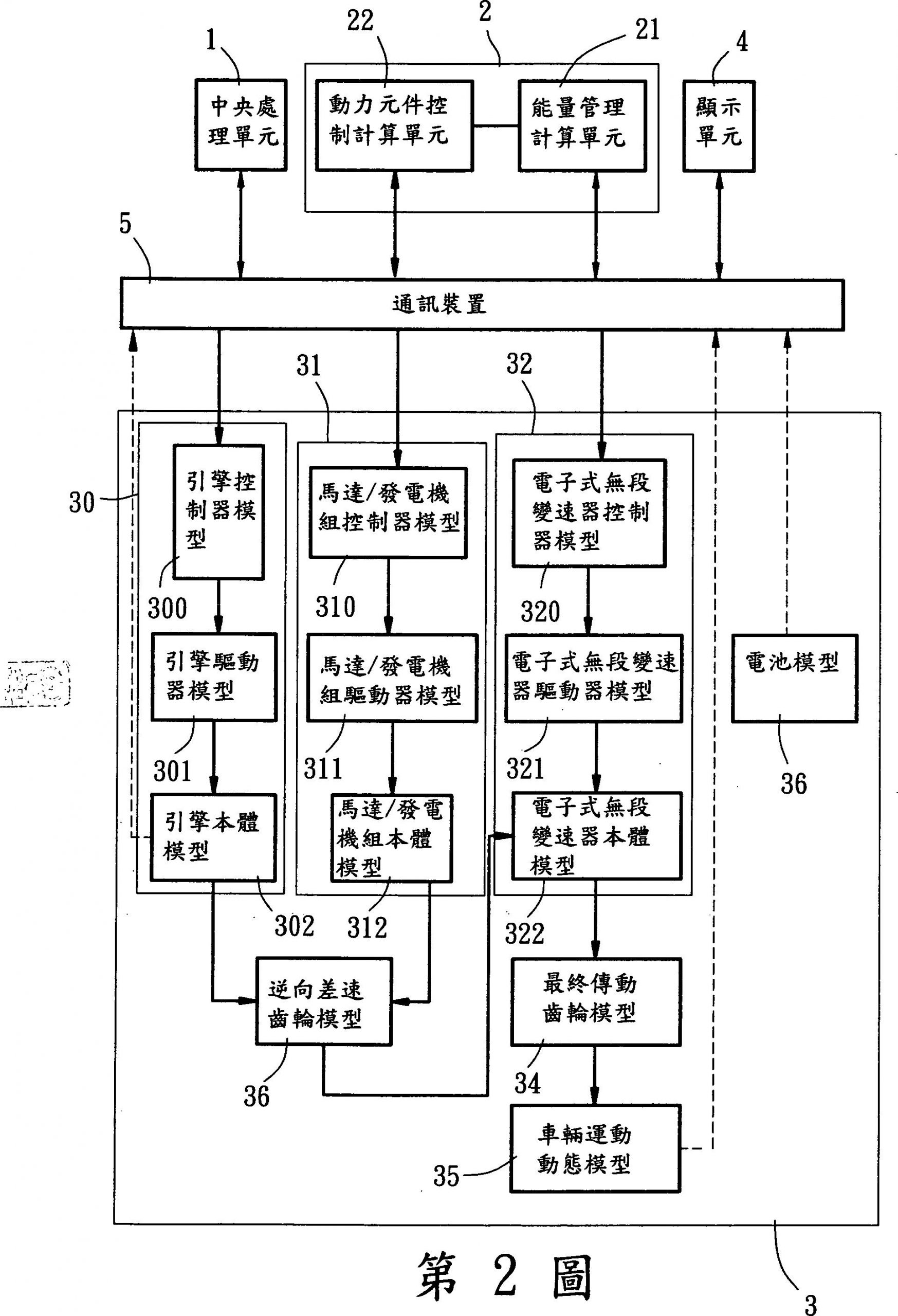
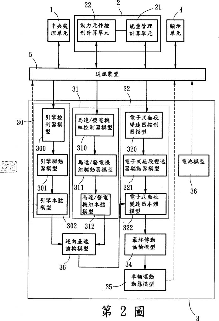
逆向差速齒輪式混合動力裝置控制模組之模擬測試方法
專利證號
I341269
專利國別
中華民國
專利類型
發明
公告日
2011/05/01
發明人代表
林秋豐、曾全佑、郭彥賢
專利技術摘要
一種逆向差速齒輪式混合動力裝置控制模組之模擬測試方法,其利用一中央處理單元、一能量管理裝置、一通訊裝置及一車輛動態模擬裝置模擬一車輛之各個動力裝置在實際運轉情況下之動態操作特性。
可應用範圍
(產業利用性)
照片/圖示
附件
上一頁
上一篇
自動化停車場管理及取車方法
下一篇
更換式輾合輥輪裝置
下一篇