國立屏東科技大學
可移轉專利技術摘要

專利名稱

細胞計數模組

專利證號

I355492

專利國別

中華民國

專利類型

公告日

2012/01/01

發明人代表

傅龍明、蔡建雄、林哲信

專利技術摘要

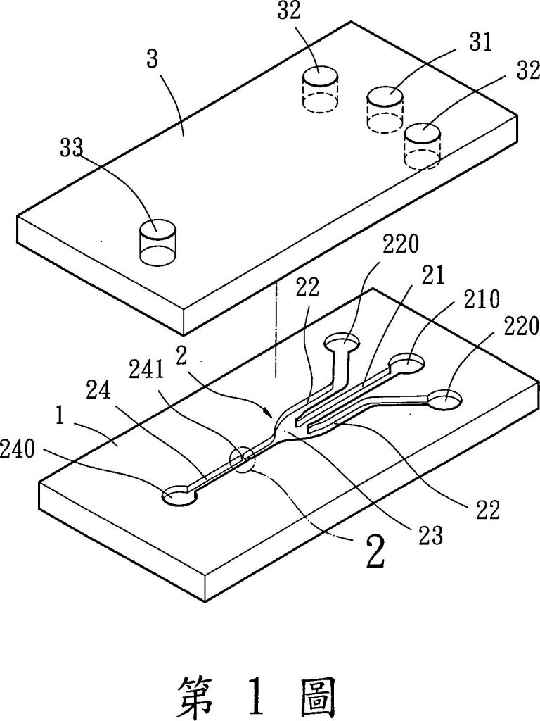
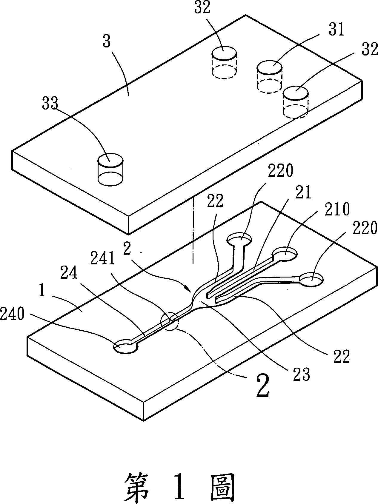
一種細胞計數模組,其包含一基板、至少一微管單元及一縮徑部,該微管單元設置於該基板之一側,該微管單元設有一主通道、二副通道、一匯流部及一匯流道,該匯流部形成於該主通道、副通道與匯流道之交界處,該匯流部之一側連通該主通道及各該副通道之一端,且該匯流部之另一側則連通該匯流道,該主通道及副通道係分別可供注入一樣品溶液及一緩衝溶液,該縮徑部凸設於該匯流道之一適當位置,以縮減該匯流道之流通空間,進而限制該縮徑部僅能允許單一細胞之通過,提升細胞計數的精確度。

可應用範圍
(產業利用性)

照片/圖示

附件