國立屏東科技大學
可移轉專利技術摘要

專利名稱

戶外監控裝置之太陽能電力系統總成

專利證號

I355753

專利國別

中華民國

專利類型

公告日

2012/01/01

發明人代表

龔旭陽、李佳凌、陳朝圳、林美賢

專利技術摘要

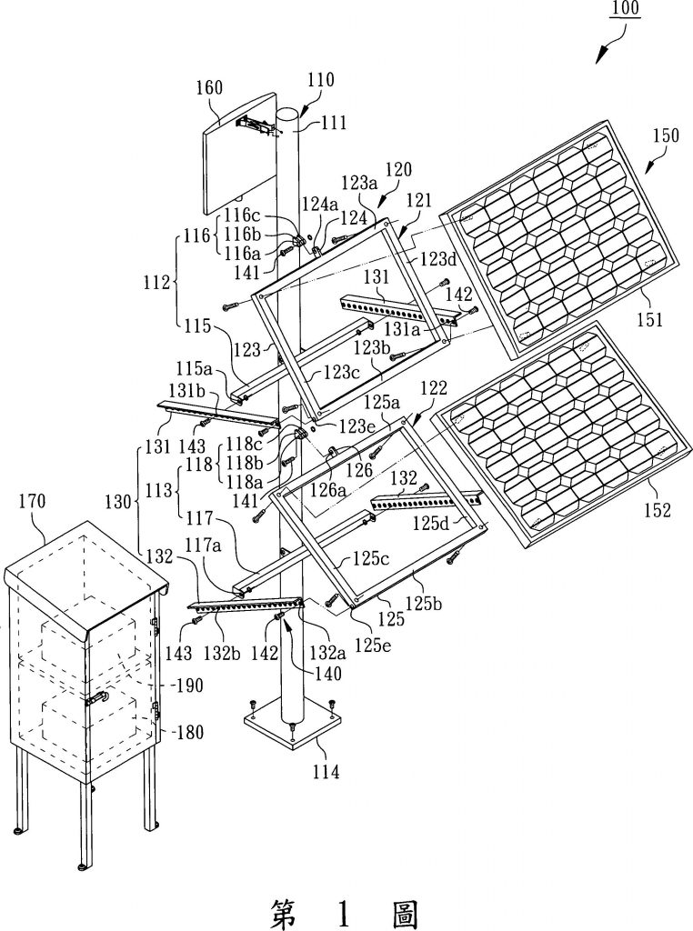
一種戶外監控裝置之太陽能電力系統總成,其主要包含一支撐桿、一支撐架、一調整桿、一軸桿、一太陽能板以及一指向天線,該太陽能板係設置於該支撐架,且與該指向天線電性連接,該支撐架之一第一上邊框係活動樞接於該支撐桿之一第一樞接座,該支撐架之一第一下邊框係活動樞接於該調整桿一端,該調整桿之另一端係與該支撐桿之一固定桿樞接,藉由調整該調整桿與該固定桿之樞接位置可改變傾斜角度以使該太陽能板能夠得到充分之日照,必要時可增加支撐架、調整桿、軸桿及太陽能板數量,以組成一支撐架組、一調整桿組、一軸桿組及一太陽能板組,以適應不同地表環境。

可應用範圍
(產業利用性)

照片/圖示

附件