國立屏東科技大學
可移轉專利技術摘要

專利名稱

噴氣式生質燃料氣化爐

專利證號

I359246

專利國別

中華民國

專利類型

公告日

2012/03/01

發明人代表

蔡建雄、許智倫、郭景宗

專利技術摘要

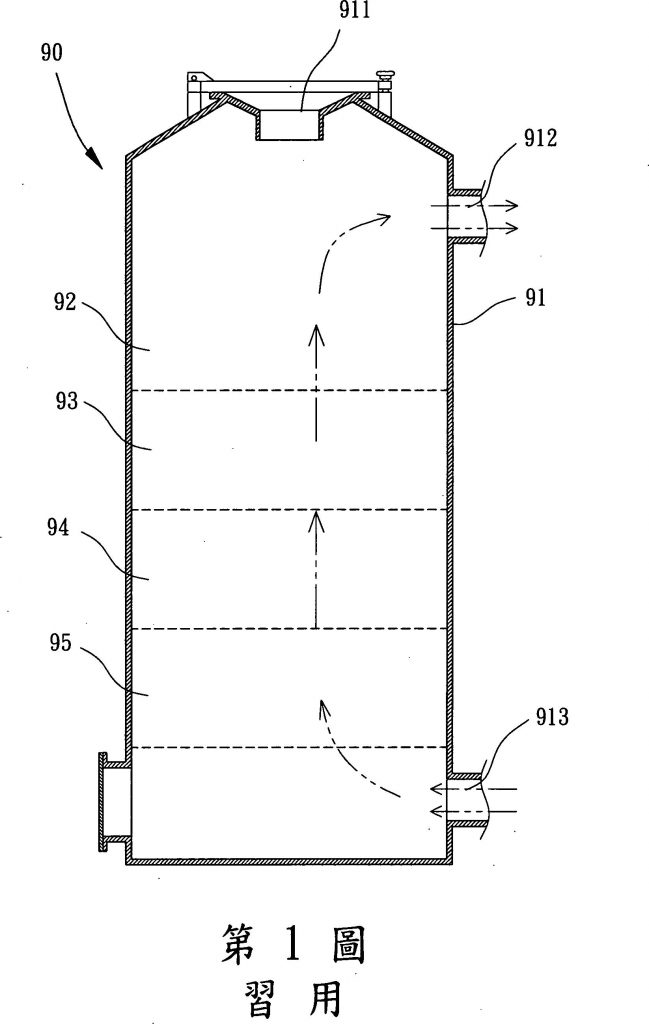
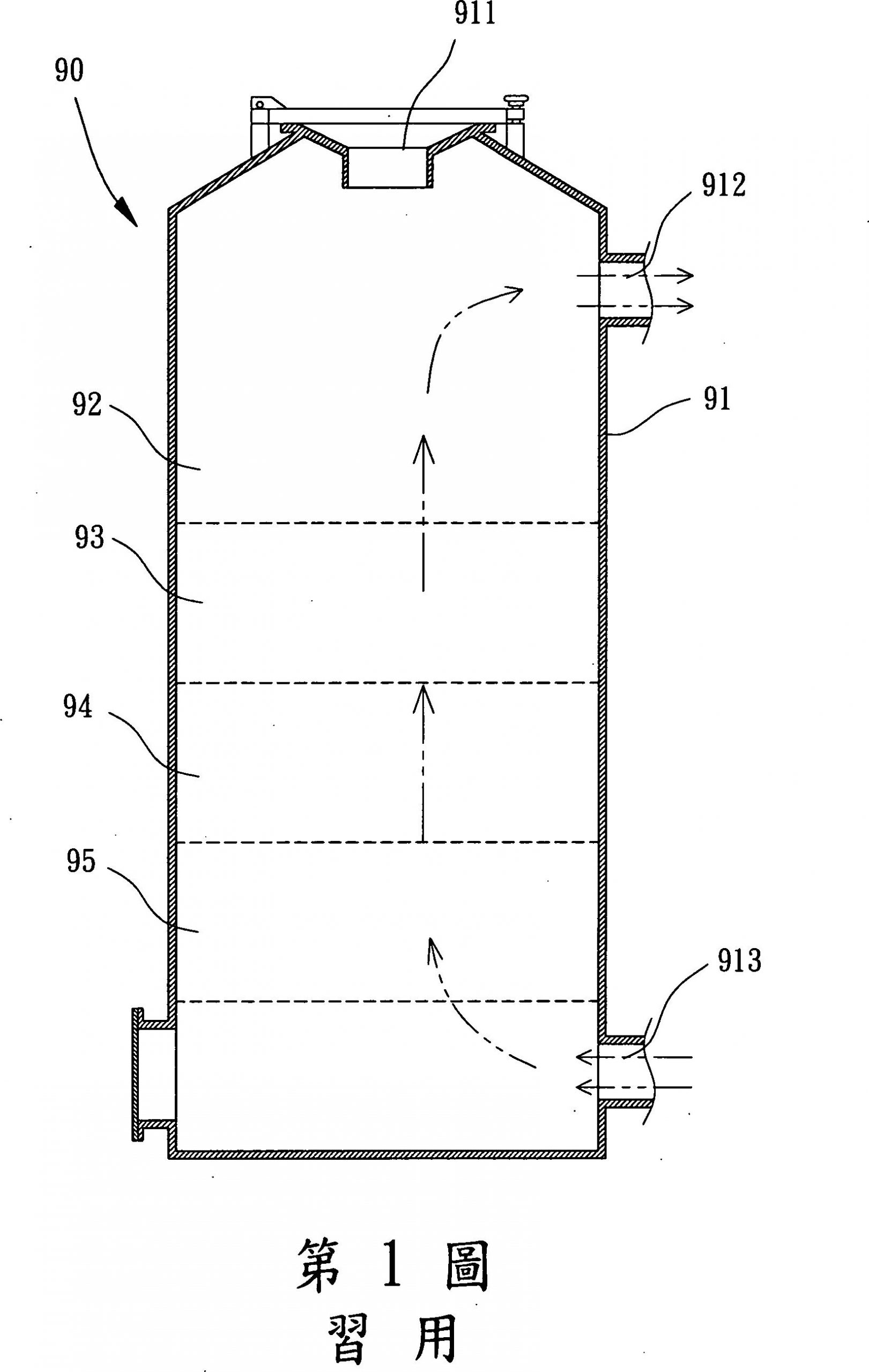
一種噴氣式生質燃料氣化爐,包含一爐體、一隔熱保溫件、一供氣單元及一噴氣裝置。該爐體內部形成上下相互連通的一儲料槽及一反應槽,且該爐體外部設有連通該儲料槽的一入料部;該隔熱保溫件用以提供該爐體一保溫作用;該供氣單元供應氣體至該爐體內部;該噴氣裝置具有位於該儲料槽的數個噴氣管,各該噴氣管分別設有一噴氣口,各該噴氣口係朝向該反應槽。藉此,當經由該入料部補充生質燃料至該儲料槽的過程中,該噴氣裝置可向下噴出高壓氣體,以有效防止該反應槽燃燒所產生之廢氣經由該入料部外洩至外界空間。

可應用範圍
(產業利用性)

照片/圖示

附件