國立屏東科技大學
可移轉專利技術摘要

專利名稱

活塞式生質燃料氣化爐

專利證號

I359247

專利國別

中華民國

專利類型

公告日

2012/03/01

發明人代表

蔡建雄、許智倫、郭景宗

專利技術摘要

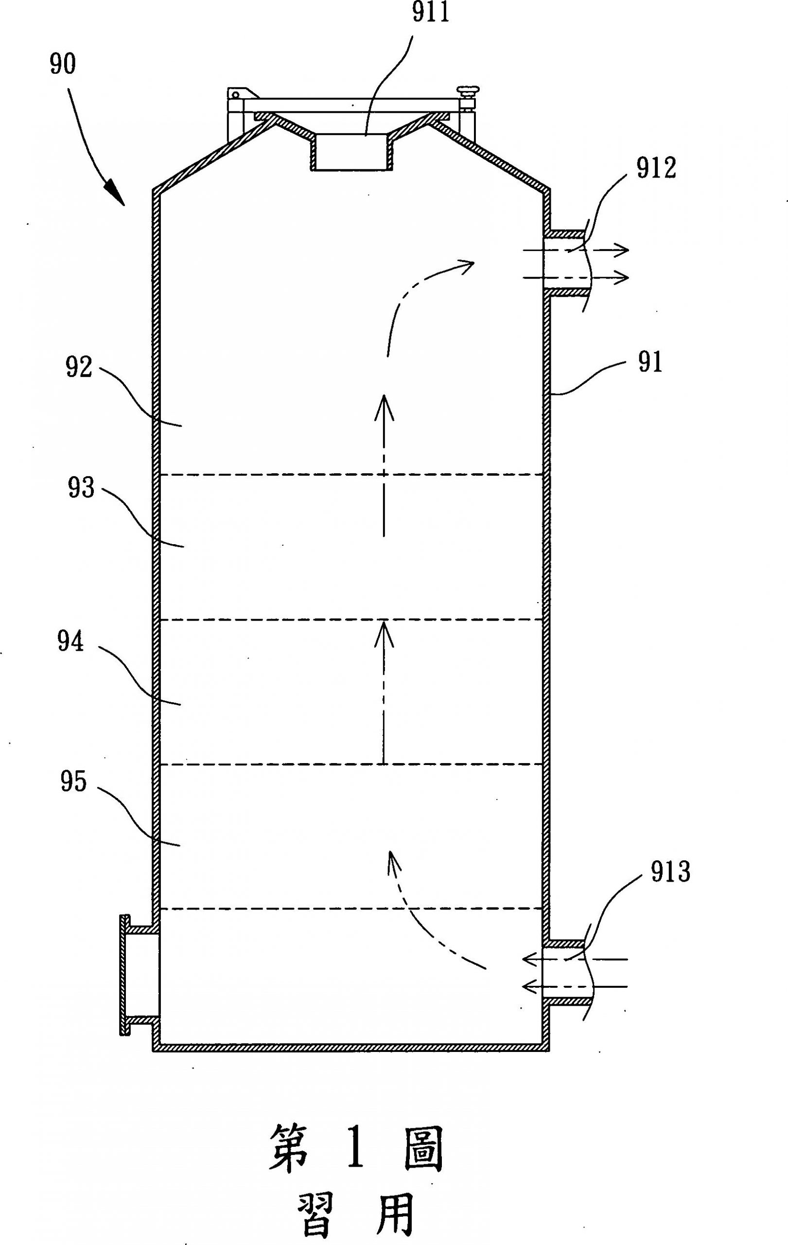
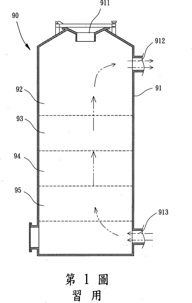
一種活塞式生質燃料氣化爐,包含一進料裝置、一爐體、一廢氣阻擋裝置及一供氣單元。該廢氣阻擋裝置連接於該進料裝置與該爐體之間,該廢氣阻擋裝置具有呈中空狀之一殼罩,該殼罩內部形成一第一送料槽及一第二送料槽,且該殼罩內部結合一活動桿及一動力組,該活動桿依序設有一第一活塞、一第二活塞及一第三活塞,該供氣單元係供應該爐體燃燒及反應時所需之氣體。藉此,該廢氣阻擋裝置可利用前述活塞的往復活動,將生質燃料輸送至該爐體,並兼可有效防止該爐體內部所產生之廢氣外洩至外界空間。

可應用範圍
(產業利用性)

照片/圖示

附件