國立屏東科技大學
可移轉專利技術摘要

專利名稱

光碟置放架

專利證號

I393543

專利國別

中華民國

專利類型

公告日

2013/04/21

發明人代表

林芳銘、葉柏宏、賴榮平

專利技術摘要

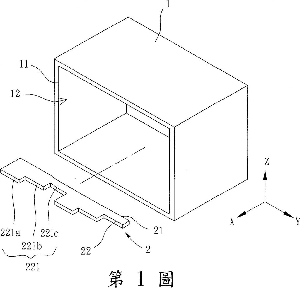
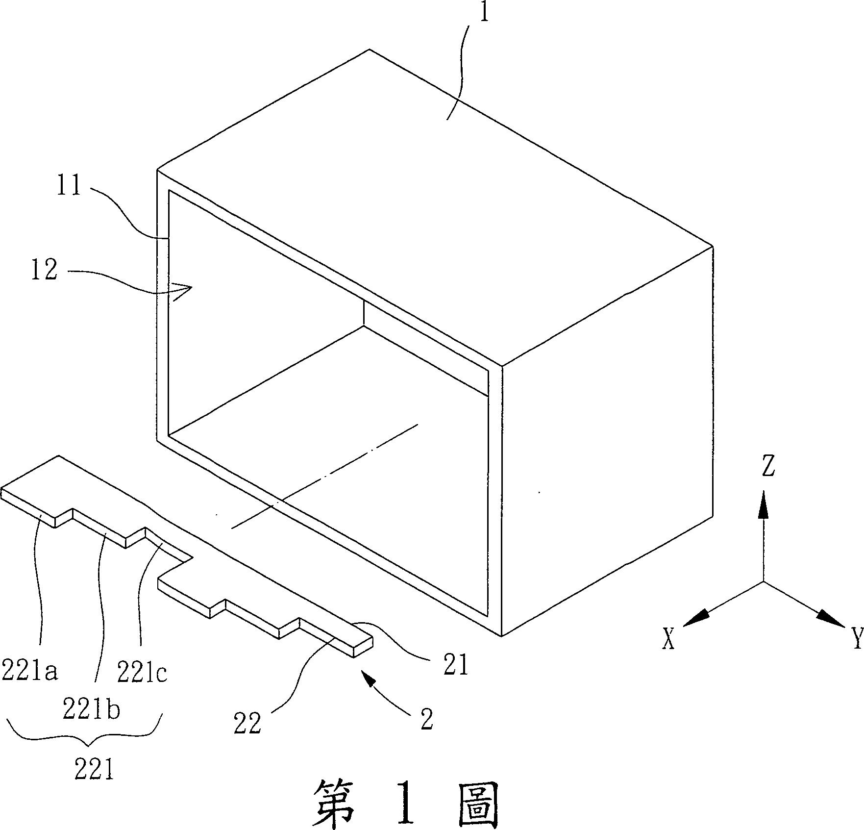
一種光碟置放架,係包含一框體及一分隔件。該框體,內部具有一容置空間,該容置空間於該框體之一側形成有一開口。該分隔件,具有一結合部及一排列部,該結合部及排列部分別形成於該分隔件之相對二側,該分隔件可拆換的設置於該框體之容置空間中,該結合部與該框體之內壁結合,該排列部則朝向該開口;其中該分隔件之排列部係由數個排序單元所構成,各該排序單元具有數個抵靠面,該數個抵靠面在該排列部之側面形成數種深度落差。

可應用範圍
(產業利用性)

照片/圖示

附件