國立屏東科技大學
可移轉專利技術摘要

專利名稱

利用二極體之順向偏壓I-V特性曲線取得其參數之方法

專利證號

I394965

專利國別

中華民國

專利類型

公告日

2013/05/01

發明人代表

熊京民

專利技術摘要

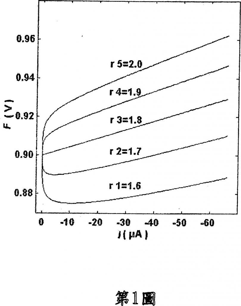
本發明第一較佳實施例之利用二極體之順向偏壓I-V特性曲線取得其參數之方法包含:量測二極體之順向偏壓I-V特性曲線;利用 模型函數獲得 模型函 數,以提供F(I)-I圖,以便由該F(I)-I圖取得二極體參數之 、R、n;其中r為可調變數,且將r調整至等於n,即n=r,並獲得 方程式;當I=0時,取得 ;R由F(I)之斜率〔R/n〕 取得。本發明第二較佳實施例之方法包含:建立 模 型函數;在建立 模型函數時,進一步獲得 模型函數,以提供F(I)-I圖;將r調整至 等於二極體參數之n,以取得 方程式;其中n等於r; 當I=0時,取得 ;R由F(I)之斜率〔R/n〕取得。

可應用範圍
(產業利用性)

照片/圖示

附件