國立屏東科技大學
可移轉專利技術摘要

專利名稱

利用二極體之逆向偏壓I-V特性曲線取得其參數之方法

專利證號

I394964

專利國別

中華民國

專利類型

公告日

2013/05/01

發明人代表

熊京民

專利技術摘要

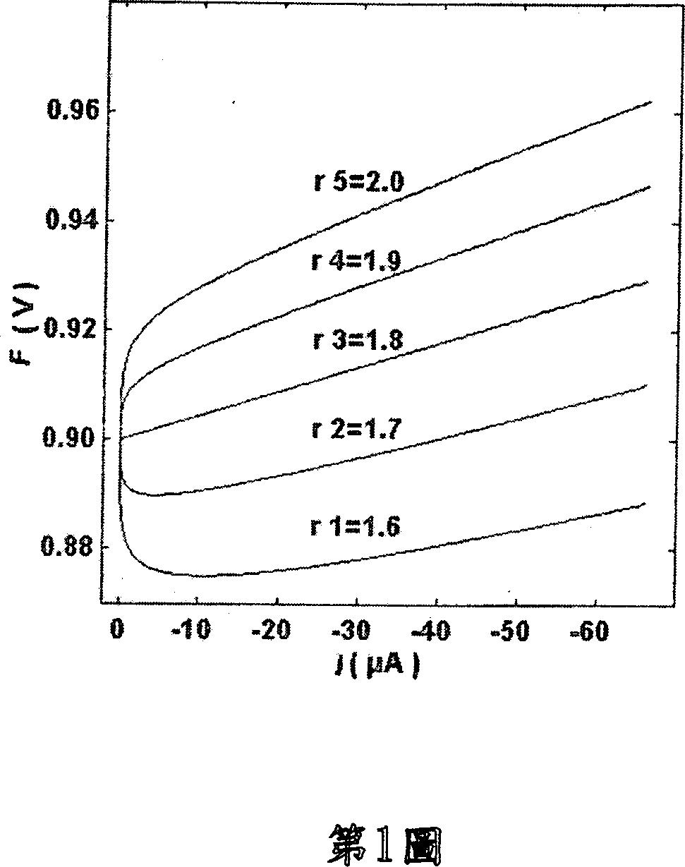
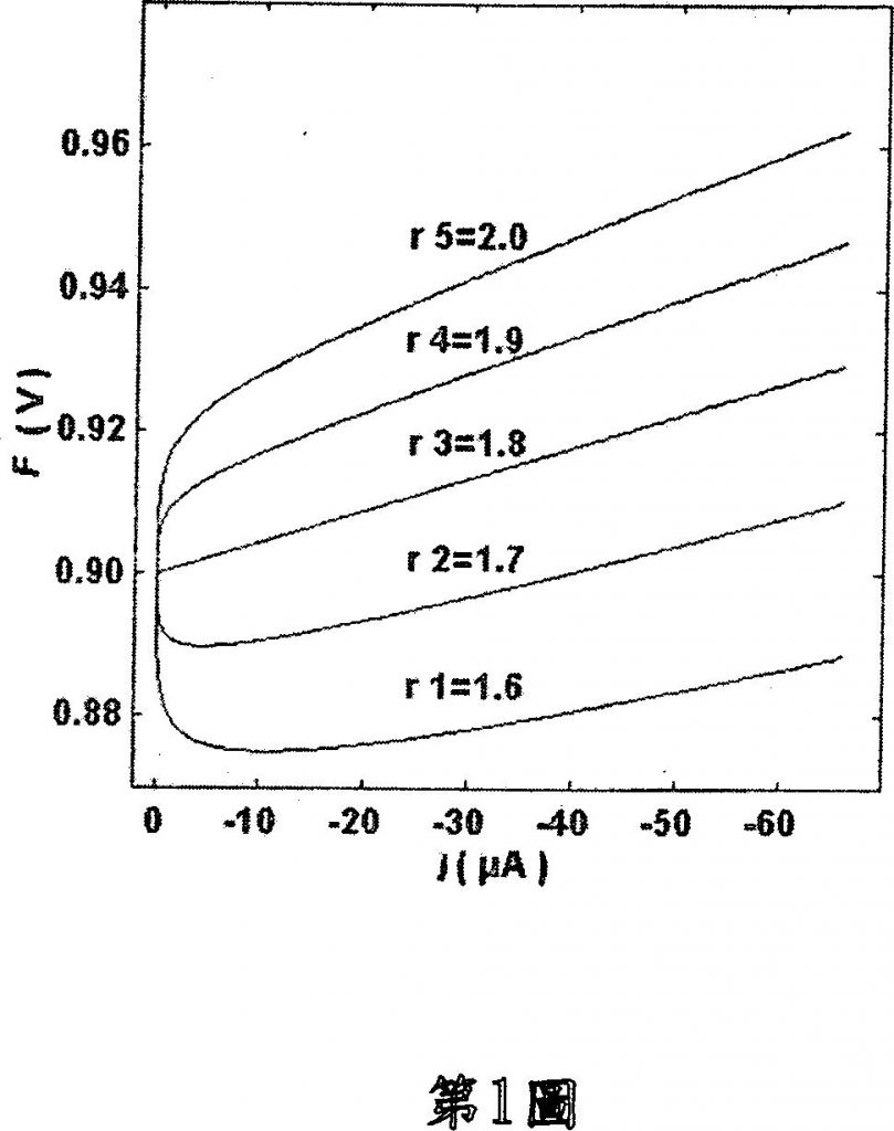
本發明第一較佳實施例之利用二極體之逆向偏壓I-V特性曲線取得其參數之方法包含:量測二極體之逆向偏壓I-V特性曲線; 利用 模型函數,以取得二極體參數之 、R、n;其中r為可調變數,且將r調整至等於n,即n=r,並 獲得 RI方程式;當I=0時,取得 ;R由F(I)之斜率 〔(1/r-1)R〕取得。本發明第二較佳實施例之利用二極體之逆向偏壓I-V特性曲線取得其參數之方法包含:建立 RI模型函數;將r調整至等於二極體參 數之n,以獲得 RI方程式,且取得二極體參數之n=r;其中自F(I)方程式取得二極體參數之 及R。

可應用範圍
(產業利用性)

照片/圖示

附件