專利名稱
微域加熱晶片
專利證號
I428175
專利國別
中華民國
發明人代表
陳志堅
專利技術摘要
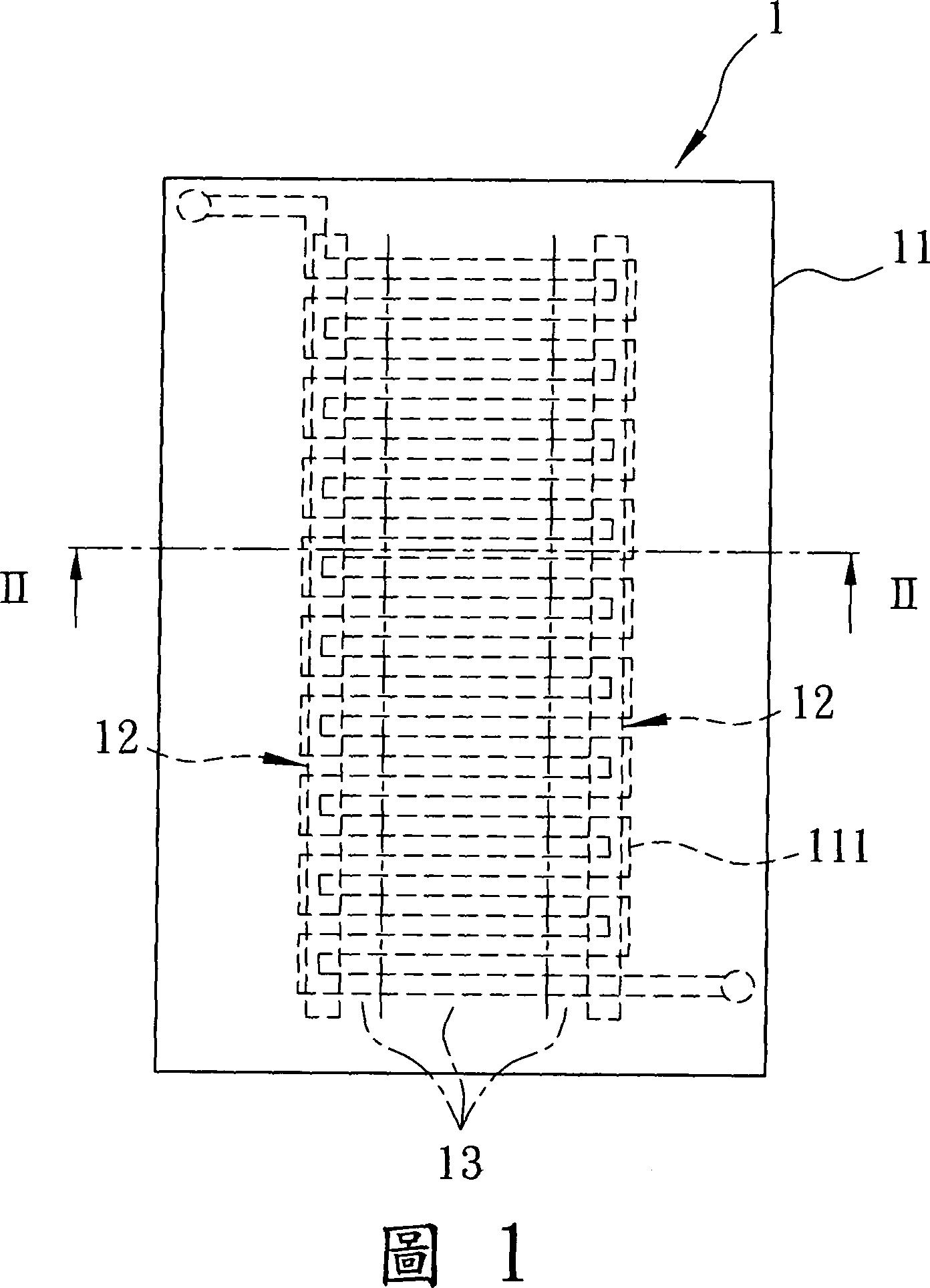
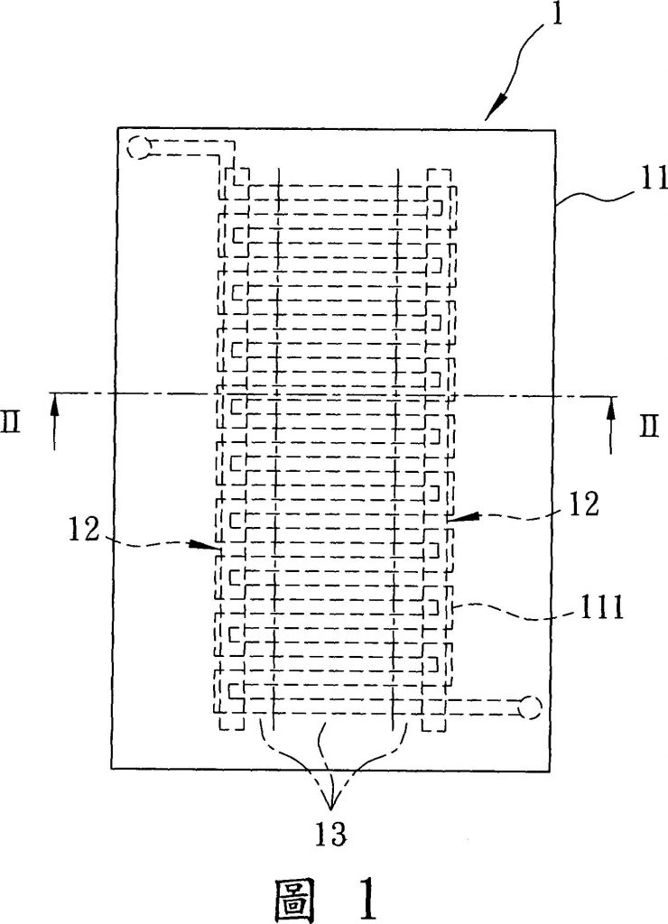
一種微域加熱晶片,包含一片體、一加熱單元,及一控溫流體,片體具有供容置該檢測樣本的樣本流道,及複數條相間隔且概呈平行分布的流道,加熱單元具有複數條可被控制地加熱片體且兩相鄰的加熱線間夾有其中一條流道的加熱線,當以該等加熱線加熱且控溫流體在該等流道中流動時,該片體對應於樣本流道的區域被加熱成數目是加熱線數目的兩倍減一個均溫區,用以加熱檢測樣本,另外,改變流道寬度,及/或流道與加熱線的間距可以調變對應於流道位置的均溫區寬度,以及相鄰的均溫區的溫度分佈變化。