國立屏東科技大學
可移轉專利技術摘要

專利名稱

牆面檢測設備

專利證號

I428586

專利國別

中華民國

專利類型

公告日

2014/03/01

發明人代表

柯千禾

專利技術摘要

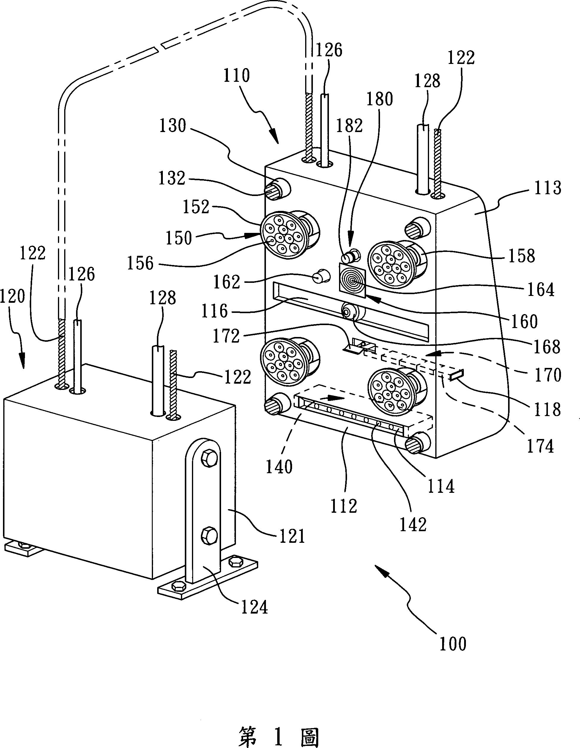
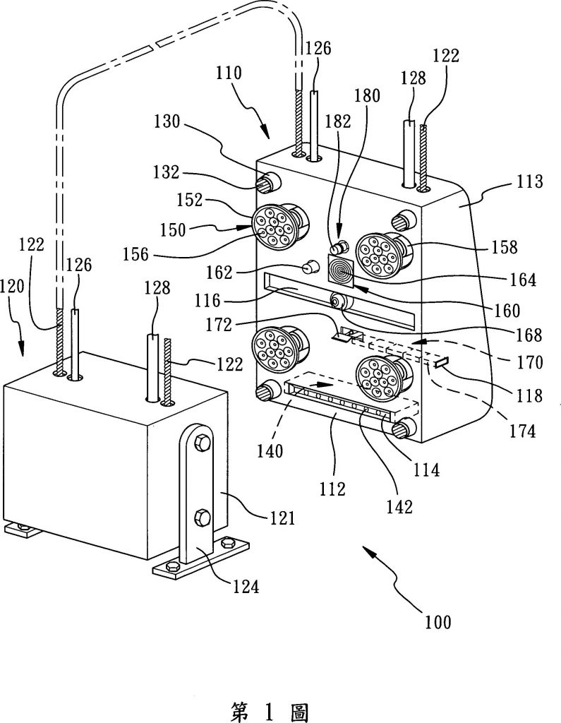
一種牆面檢測設備包含本體、輔助裝置、支撐裝置、清洗裝置、定位裝置、偵測裝置與取樣裝置。其中輔助裝置連接帶動本體昇降。支撐裝置位於本體之朝牆面的一側,以維持本體與牆面的距離。清洗裝置則裝設於本體內,且朝牆面噴灑液體;定位裝置裝設於本體上,其中定位裝置朝向牆面延伸,以將本體定位在牆面。以及,偵測裝置與取樣裝置皆裝設於本體上,並電性連接至輔助裝置,且偵測裝置具有一部份裸露且朝向牆面,以偵測牆面。

可應用範圍
(產業利用性)

照片/圖示

附件