國立屏東科技大學
可移轉專利技術摘要

專利名稱

核能緊急冷卻裝置

專利證號

I434291

專利國別

中華民國

專利類型

公告日

2014/04/11

發明人代表

戴昌賢、 羅四維、鄧治東

專利技術摘要

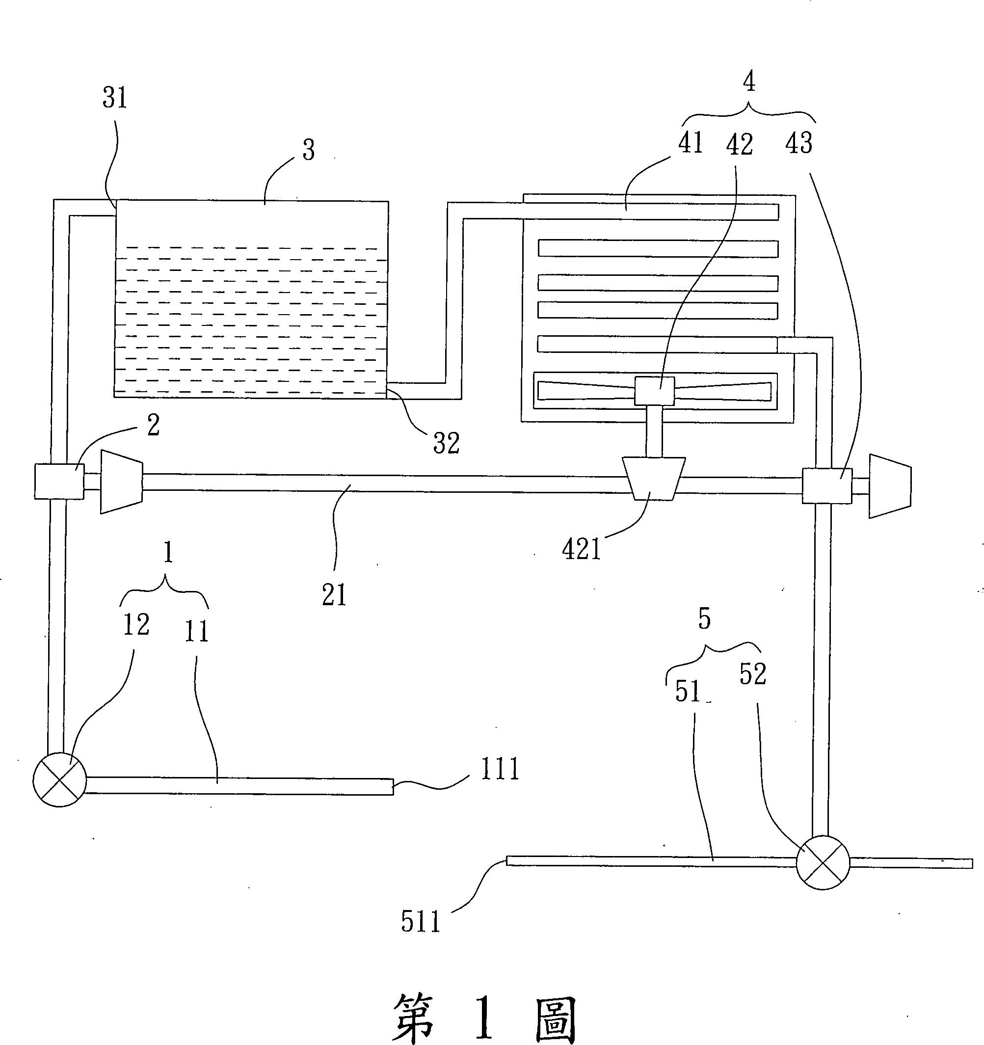
一種核能緊急冷卻裝置,包含一蒸汽導引組件、一渦輪機、一液化水槽、一冷卻單元及一冷卻水導引組件。該蒸汽導引組件具有一導氣管路,該導氣管路之一端為一蒸汽注入口;該渦輪機連接於該導氣管路之另一端;該液化水槽具有一輸入口及一輸出口,該輸入口係連接該渦輪機;該冷卻單元具有一冷卻管路及一冷卻器,該冷卻管路之一端連接該輸出口,該冷卻器係設置於該冷卻管路;該冷卻水導引組件具有一進液管路,該進液管路之一端連接該冷卻管路之另一端,該進液管路之另一端為一冷卻水導出口。

可應用範圍
(產業利用性)

照片/圖示

附件